EasyManua.ls Logo

instagrid ONE - Conexiones, Elementos de Mando y Visualización

instagrid ONE
436 pages
Print Icon
To Next Page IconTo Next Page
To Next Page IconTo Next Page
To Previous Page IconTo Previous Page
To Previous Page IconTo Previous Page
Loading...
62
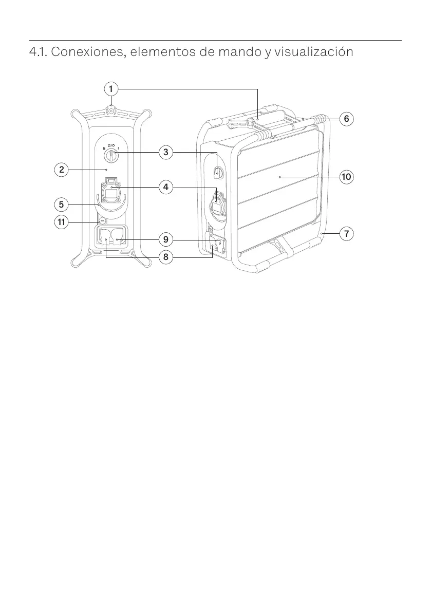
4.1. Conexiones, elementos de mando y visualización
10
1
6
7
2
4
5
3
11
8
9
1. Asa
2. Tapa delantera
3. Rosca
4. Toma de corriente CEE 7/X
5. Indicador LED
6. Tapa trasera
7. Bastidor
8. Entrada de carga CA (*)
9. Toma de corriente (*)
10. Carcasa
11. Fusible de la entrada de carga
(*) Neutrik powerCON® TRUE1® TOP

Table of Contents

Related product manuals