EasyManua.ls Logo

Maeda CC1908S-1 - Page 303

Maeda CC1908S-1
326 pages
Print Icon
To Next Page IconTo Next Page
To Next Page IconTo Next Page
To Previous Page IconTo Previous Page
To Previous Page IconTo Previous Page
Loading...
M A E D A Crawler Crane 6.19 WHEN SUCH A PHENOMENON OCCURS
5/2020 CC1908S-1 6-95
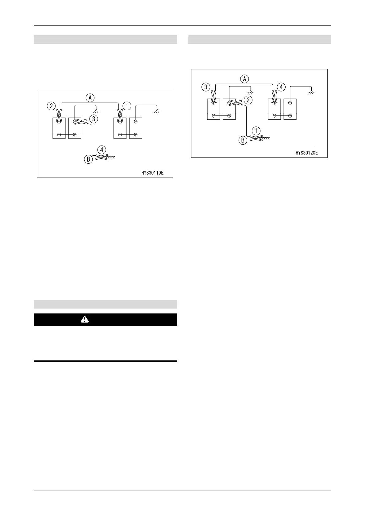
[3] Connecting booster cable
Set the starter switch of both the donor machine
and the failed machine to the "OFF" position.
Connect the booster cables in numerical order, as
shown in the diagram.
1. Connect a clip of the booster cable (A) to the
(+) terminal of the failed machine.
2. Connect the other clip of the booster cable
(A) to the (+) terminal of the battery of the
donor machine.
3. Connect a clip of the booster cable (B) to the
(-) terminal of the battery of the donor
machine.
4. Connect the other clip of the booster cable
(B) to the upper slewing body frame of the
failed machine.
[4] Starting engine
CAUTION
Verify that the lock lever of both the donor
machine and failed machine is in the lock
position. Also verify that each control lever is
in the neutral position.
1. Check that the clips are securely connected
to the battery terminals.
2. Start the engine of the donor machine and
increase the engine speed to full speed
(maximum speed).
3. Turn the starter switch of the failed machine
to the "START" position, and start the engine.
If the engine does not start, wait for at least
one minute before attempting to start again.
For details on how to start the engine, refer to
"5.2.3 STARTING ENGINE" on P. 5-7.
[5] Disconnecting booster cable
When the engine has started, disconnect the
booster cable in the reverse order of connection.
1. Disconnect the clip of the booster cable (B)
connected to the upper slewing body frame of
the failed machine.
2. Disconnect the clip of the booster cable (B) to
the (-) terminal of the battery of the donor
machine.
3. Disconnect the clip of the booster cable (A)
connected to the (+) terminal of the battery of
the donor machine.
4. Disconnect the clip of the booster cable (A)
connected to the (+) terminal of the battery of
the failed machine.
Battery of
donor
machine
Battery of
failed machine
Frame of
failed machine
Battery of
failed machine
Frame of
failed machine
Battery of
donor
machine

Table of Contents

Other manuals for Maeda CC1908S-1

Related product manuals