EasyManua.ls Logo

Maeda CC1908S-1 - 4.1 Part Names

Maeda CC1908S-1
326 pages
Print Icon
To Next Page IconTo Next Page
To Next Page IconTo Next Page
To Previous Page IconTo Previous Page
To Previous Page IconTo Previous Page
Loading...
4.1 PART NAMES M A E D A Crawler Crane
4-2 5/2020 CC1908S-1
4.1 PART NAMES
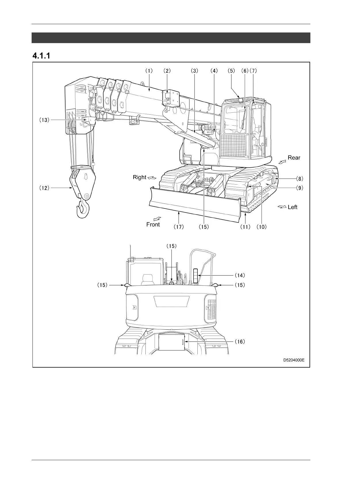
MACHINE PART NAMES
(1) Boom
(2) Boom working light
(3) Boom derricking cylinder
(4) Winch
(5) Head light
(6) Wiper (Front window)
(7) Wiper (Roof window)
(8) Sprocket, travel motor
(9) Track frame
(10) Idler
(11) Crawler
(12) Hook block
(13) Overwinding detector
(14) Working status lamp
(15) Multi-assist view camera
(16) Toolbox (Option)
(17) Blade (Option)

Table of Contents

Other manuals for Maeda CC1908S-1

Related product manuals