EasyManua.ls Logo

Maeda CC1908S-1 - Page 54

Maeda CC1908S-1
326 pages
Print Icon
To Next Page IconTo Next Page
To Next Page IconTo Next Page
To Previous Page IconTo Previous Page
To Previous Page IconTo Previous Page
Loading...
3.3 RATED TOTAL LOAD CHARTS M A E D A Crawler Crane
3-10 5/2020 CC1908S-1
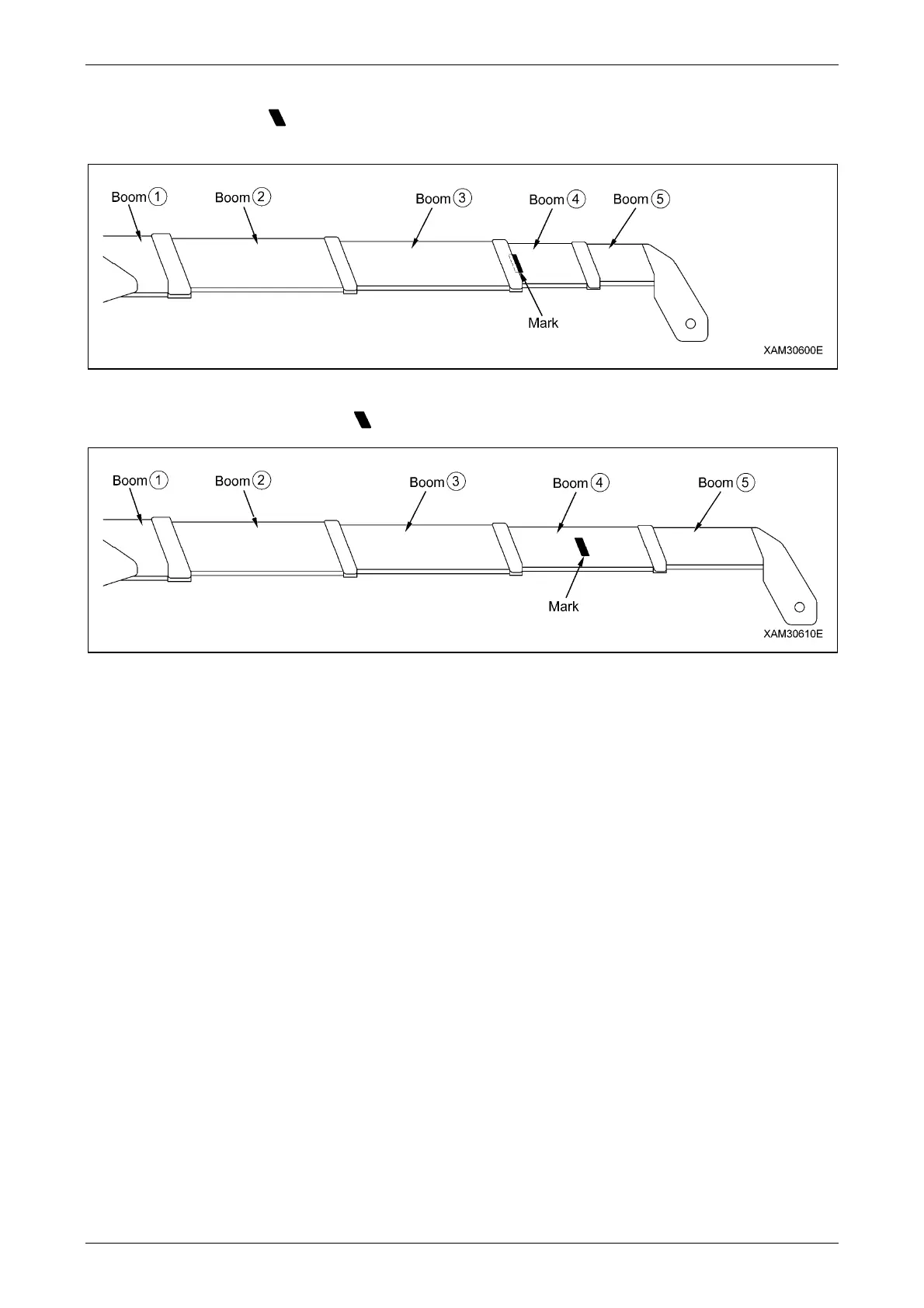
4. "15.93 m boom (4)": Booms (2) and (3) are fully extended, while booms (4) and (5) are extended to an
intermediate length (" mark" is exposed half way from boom (3)).
If booms (4) and (5) are extended even by a small extent, work within the capacity indicated in this
column.
5. "19.40 m boom (5)": All the booms are fully extended.
When more than one-half of the " mark" of boom (4) is exposed from boom (3), work within the
capacity indicated in this column.

Table of Contents

Other manuals for Maeda CC1908S-1

Related product manuals