EasyManua.ls Logo

Maeda MC305C-3 - Page 53

Maeda MC305C-3
294 pages
Print Icon
To Next Page IconTo Next Page
To Next Page IconTo Next Page
To Previous Page IconTo Previous Page
To Previous Page IconTo Previous Page
Loading...
M A E D A Mini-Crawler Crane Section 3 RATED TOTAL LOAD CHARTS
3/2019 MC305C-3 3-13
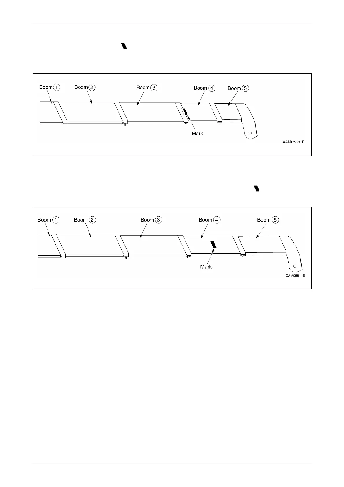
4. "Boom (1) + (2) + (3) + (4)": With booms (2) and (3) fully extended, booms (4) and (5) are extended
at the medium (half of the "
mark" passes boom (3)).
"Boom (1) + (2) + (3) + (4)" is to apply to crane operation with booms (4) and (5) extended even if
only slightly.
Fig. 3-13
5. "Boom (1) + (2) + (3) + (4) + (5)": All the booms are fully extended.
"Boom (1) + (2) + (3) + (4) + (5)" is to apply to crane operation with half of the "
mark" on boom (4)
passes boom (3).
Fig. 3-14

Table of Contents

Related product manuals