EasyManua.ls Logo

Panasonic FP0 - Page 49

Panasonic FP0
382 pages
Print Icon
To Next Page IconTo Next Page
To Next Page IconTo Next Page
To Previous Page IconTo Previous Page
To Previous Page IconTo Previous Page
Loading...
Optional MemoryFP0
2 25
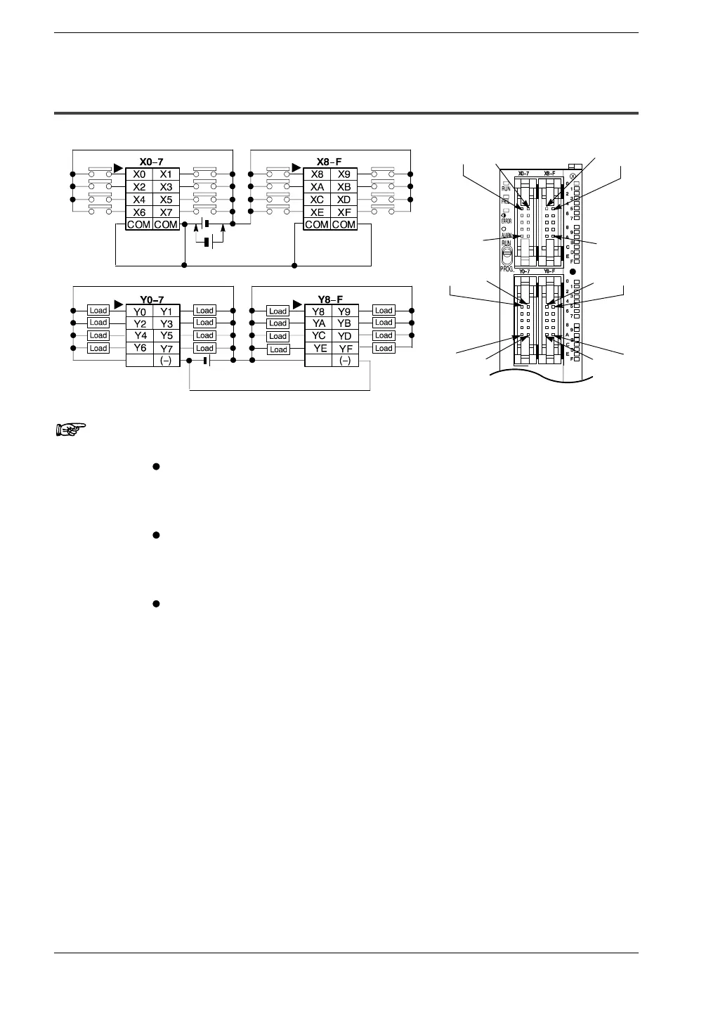
2.4 Pin Layouts
2.4.5 C32T/C32CT/T32CT
(+)
C32T/C32CT
X8
Y8 Y9
X9
X0 X1
Y1
COM
COM
()(+) (+) ()
Input Input
Output Output
Y0
(+)
(* Note 1)
Notes
The four COM terminals of input terminals (X07 and X8F) are
connected internally, however they should be externally
connected as well.
The (+) terminals of output terminals (Y07) and output
terminals (Y8F) are connected internally, however they
should be externally connected as well.
The () terminals of output terminals (Y07) and output
terminals (Y8F) are connected internally, however they
should be externally connected as well.
1) Either positive or negative polarity is possible for the input
voltage supply.

Table of Contents

Related product manuals