EasyManua.ls Logo

Panasonic FP0 - Page 77

Panasonic FP0
382 pages
Print Icon
To Next Page IconTo Next Page
To Next Page IconTo Next Page
To Previous Page IconTo Previous Page
To Previous Page IconTo Previous Page
Loading...
Expansion I/O UnitsFP0
3 25
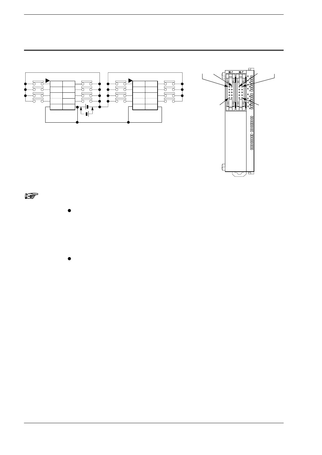
3.4 Pin Layouts
3.4.8 E16X
E16
X
X20
COM COM
X28 X29X21
Input
(* Note 1)
X20 X21
X22 X23
X24 X25
X26 X27
COM COM
X28 X29
X2A X2B
X2C X2D
X2E X2F
COM COM
Notes
The four COM terminals of input terminals are connected
internally, however they should be externally connected as
well.
1) Either positive or negative polarity is possible for the input
voltage supply.
The input number given above is the input number when the
expansion input unit is installed as the first expansion unit.
The input numbers for the expansion input units will differ
depending on the location where they are installed
(*section 5.3).

Table of Contents

Related product manuals