EasyManua.ls Logo

Suzuki DF15 - Page 279

Suzuki DF15
320 pages
Print Icon
To Next Page IconTo Next Page
To Next Page IconTo Next Page
To Previous Page IconTo Previous Page
To Previous Page IconTo Previous Page
Loading...
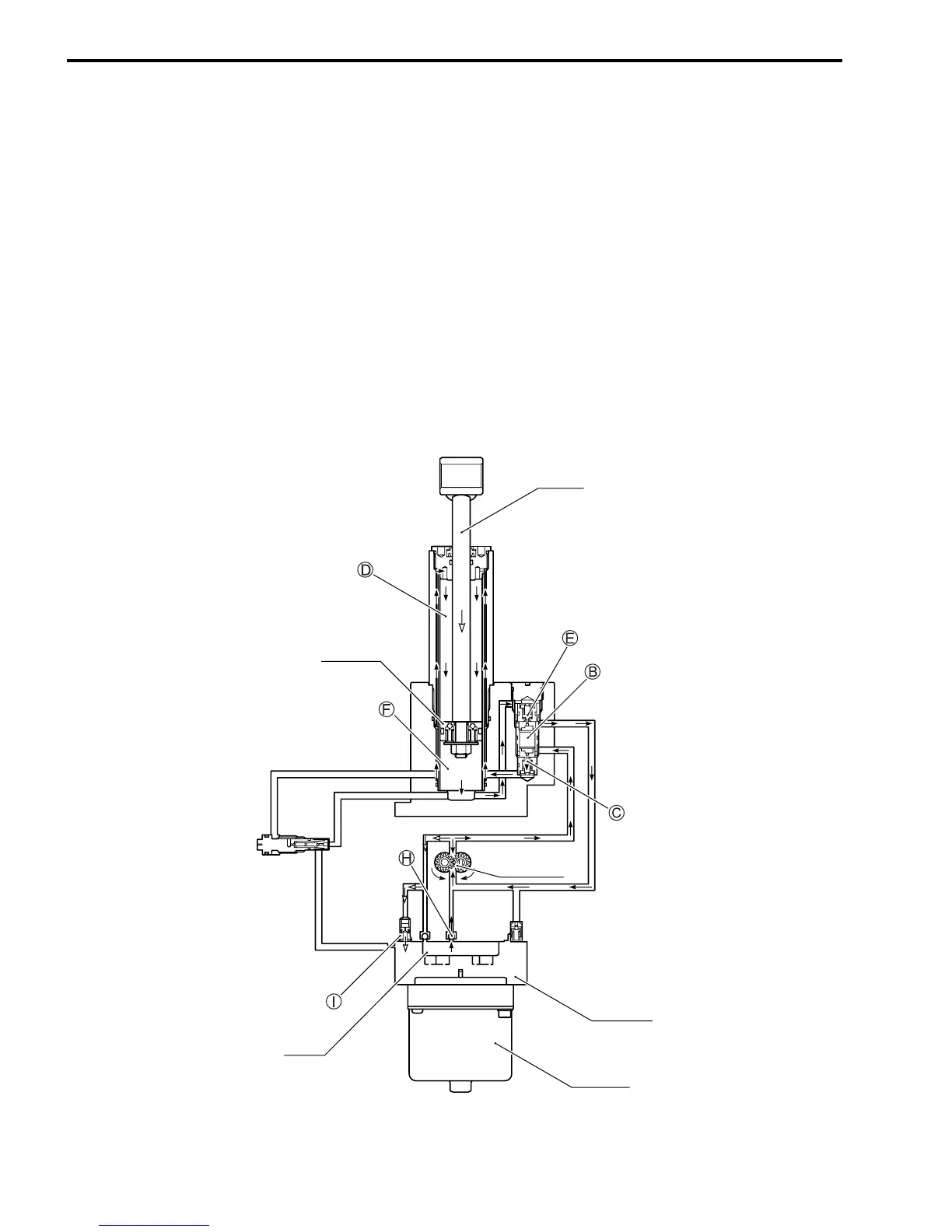
12-30 DF9.9T/TH “K8” (’08) MODEL
TILT DOWN
(1) When the PT switch is operated in the “DOWN” position, the motor and gear pump will rotate in a
counterclockwise direction.
(2) Pressurized oil will open the check valve H and oil flow from the gear pump enters the spool valve B,
moving it to the upper. Following operation of the spool valve B, opening the up check valve E and
returning oil from the lower chamber F of the tilt cylinder to the gear pump.
(3) Pressure built up by the gear pump will then open the down check valve C, oil will enter the upper
chamber D of the tilt cylinder and thereby pushing the tilt piston downward.
(4) Oil in the lower chamber F of the tilt cylinder is returned to the gear pump through the up check valve
E.
(5) Throughout the tilt down action operation range, there is a difference in oil volume between the upper
and lower chambers of the tilt cylinder, and any surplus oil is then therefore directed to the reservoir by
means of the down relief valve I.
(6) When the engine is fully tilted down, oil from the gear pump now returns to the reservoir through the
down relief valve I.
Tilt rod
PT motor
Reservoir
Gear pump
Tilt piston
Filter

Table of Contents

Related product manuals