EasyManua.ls Logo

Vaisala AWS330 - Page 243

Vaisala AWS330
298 pages
Print Icon
To Next Page IconTo Next Page
To Next Page IconTo Next Page
To Previous Page IconTo Previous Page
To Previous Page IconTo Previous Page
Loading...
Chapter 8 ____________________________________________________________ Technical Data
VAISALA______________________________________________________________________ 239
1003-029
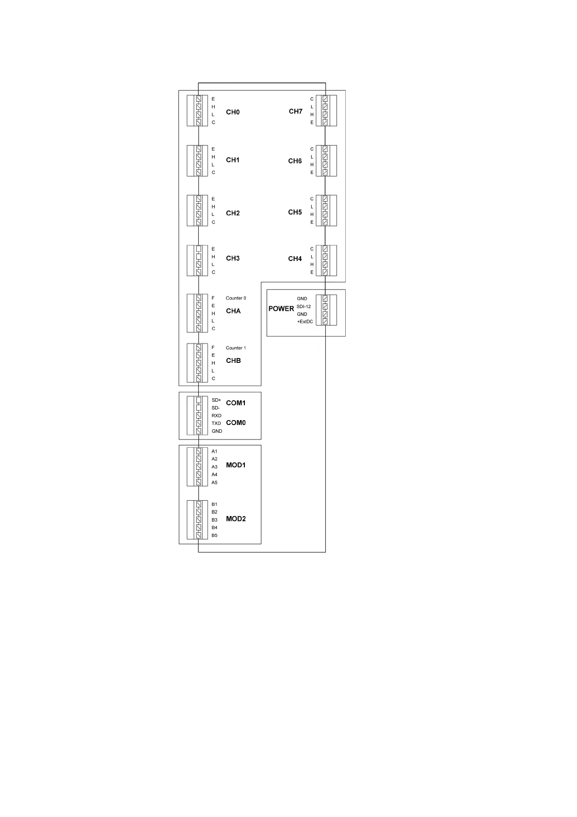
Figure 124 Connector Blocks

Table of Contents

Related product manuals