EasyManua.ls Logo

ASTRO VG-873 - Page 66

ASTRO VG-873
579 pages
Print Icon
To Next Page IconTo Next Page
To Next Page IconTo Next Page
To Previous Page IconTo Previous Page
To Previous Page IconTo Previous Page
Loading...
48
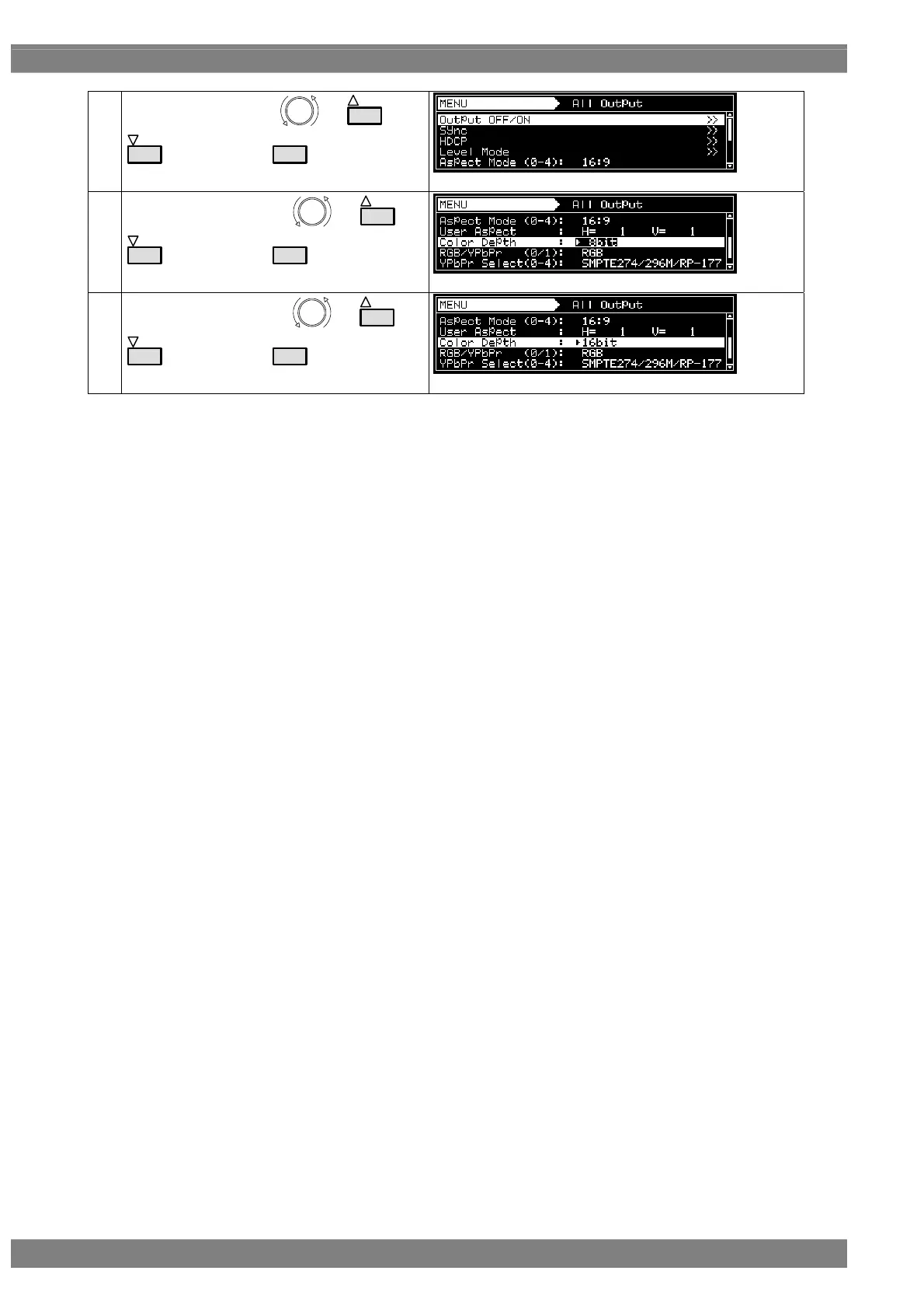
(3)
Select All Output using
or
INC
DEC
, and then press
SET
.
(4)
Select Color Depth using
or
INC
DEC
, and then press
SET
.
(5)
Select the bit length using
or
INC
DEC
, and then press
SET
.

Table of Contents

Related product manuals