EasyManua.ls Logo

Daikin D-BACS - Page 60

Daikin D-BACS
376 pages
Print Icon
To Next Page IconTo Next Page
To Next Page IconTo Next Page
To Previous Page IconTo Previous Page
To Previous Page IconTo Previous Page
Loading...
6.4 Setting Group No. for Centralized Control 43
Fundamental of DIII-NET
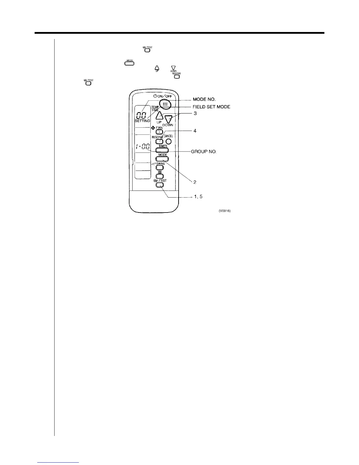
6.4.2 Wireless Remote Controller <BRC4C, 7C, 7E>
1. When in the normal mode, push “ ” button for 4 seconds or more, and operation then enters the “field set
mode.”
2. Set mode No. “00” with “ ” button.
3. Set the group No. for each group with ” “ ” button (advance/backward).
4. Enter the selected group numbers by pushing “ ” button.
5. Push “ button and return to the normal mode.

Table of Contents

Related product manuals