EasyManua.ls Logo

Dell 3250 - Power Module Removal and Replacement; Figure 58. Removing and Replacing Power Module

Dell 3250
240 pages
Print Icon
To Next Page IconTo Next Page
To Next Page IconTo Next Page
To Previous Page IconTo Previous Page
To Previous Page IconTo Previous Page
Loading...
173
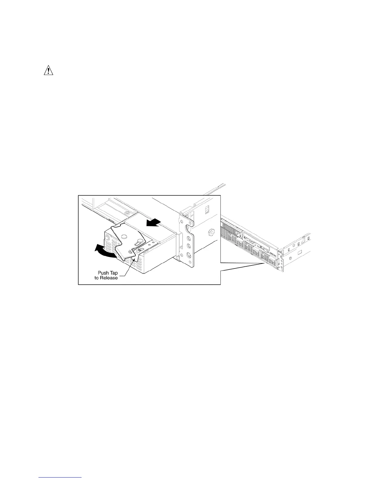
Power Module Removal and Replacement
CAUTION
If your server system is operating in a non-redundant power supply
configuration (without a power supply in the PS-Shared location), you need
to power down your server system before replacing a failed power supply.
Failure to do so may cause an immediate and uncontrolled power down.
Refer to Figure 58 and use the following instructions to replace a power supply:
1. Locate the power module to be removed.
2. Squeeze the thumb latch to unlock the power supply handle and pull the handle to undock the
power supply.
3. Pull the power supply out of the chassis and set it aside.
4. Align the replacement TPS module in the power bay, slide back until latched.
Figure 58. Removing and Replacing Power Module

Table of Contents

Related product manuals