EasyManua.ls Logo

Hakko Electronics V Series - Page 320

Hakko Electronics V Series
332 pages
Print Icon
To Next Page IconTo Next Page
To Next Page IconTo Next Page
To Previous Page IconTo Previous Page
To Previous Page IconTo Previous Page
Loading...
Appendix 7 V-Link App7-3
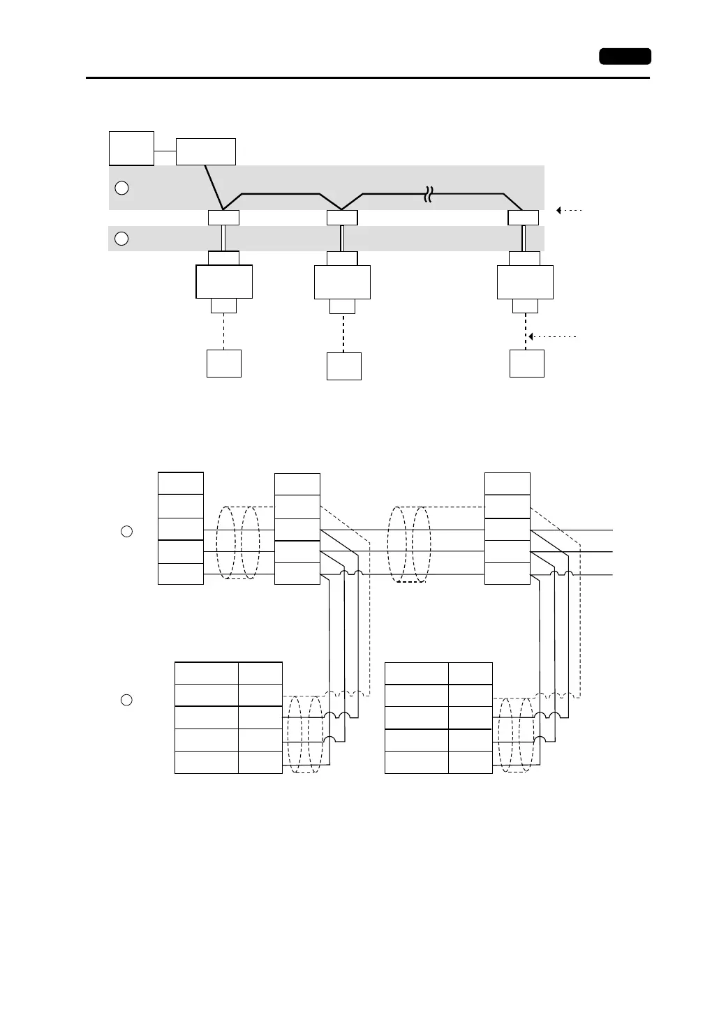
RS-485 (V7 series: maximum 31 sets)
Wiring example of above (a) and (b)
CN1
CN1
CN1
MJ2/1
MJ2/1 MJ2/1
a
b
V6-TMP
RS-232C
RS-422
RS-485
PLC
PLC
PLC
}
RS-485
}
*
}
*
}
*
Computer
V7
Local Port 1
V7
Local Port 2
V7
Local Port 31
RS-232C
RS-485
conversion
Terminal block Terminal block Terminal block
* 0.5 m recommended (1.0 m maximum)
+
1
+
RS-485
2
+
1
2
+
+
a
b
SG
5
SG
5
SG
SG
SG
FG
FG
FG
*1 *1
Signal Name
V7 series
Modular jack, 8-pin
Pin No.
(Black)
(Green)
V7 series
Modular jack, 8-pin
Signal
Name
Signal
Name
Signal
Name
(Black)
(Green)
Terminal
block
Terminal
block
Signal Name Pin No.
*1 V6-TMP is connected to FG
when the V7 series is used and
to SG when the V706 is used.

Table of Contents

Related product manuals