EasyManua.ls Logo

Hypercom IEN 1000 - Type ALG-PD

Default Icon
198 pages
Print Icon
To Next Page IconTo Next Page
To Next Page IconTo Next Page
To Previous Page IconTo Previous Page
To Previous Page IconTo Previous Page
Loading...
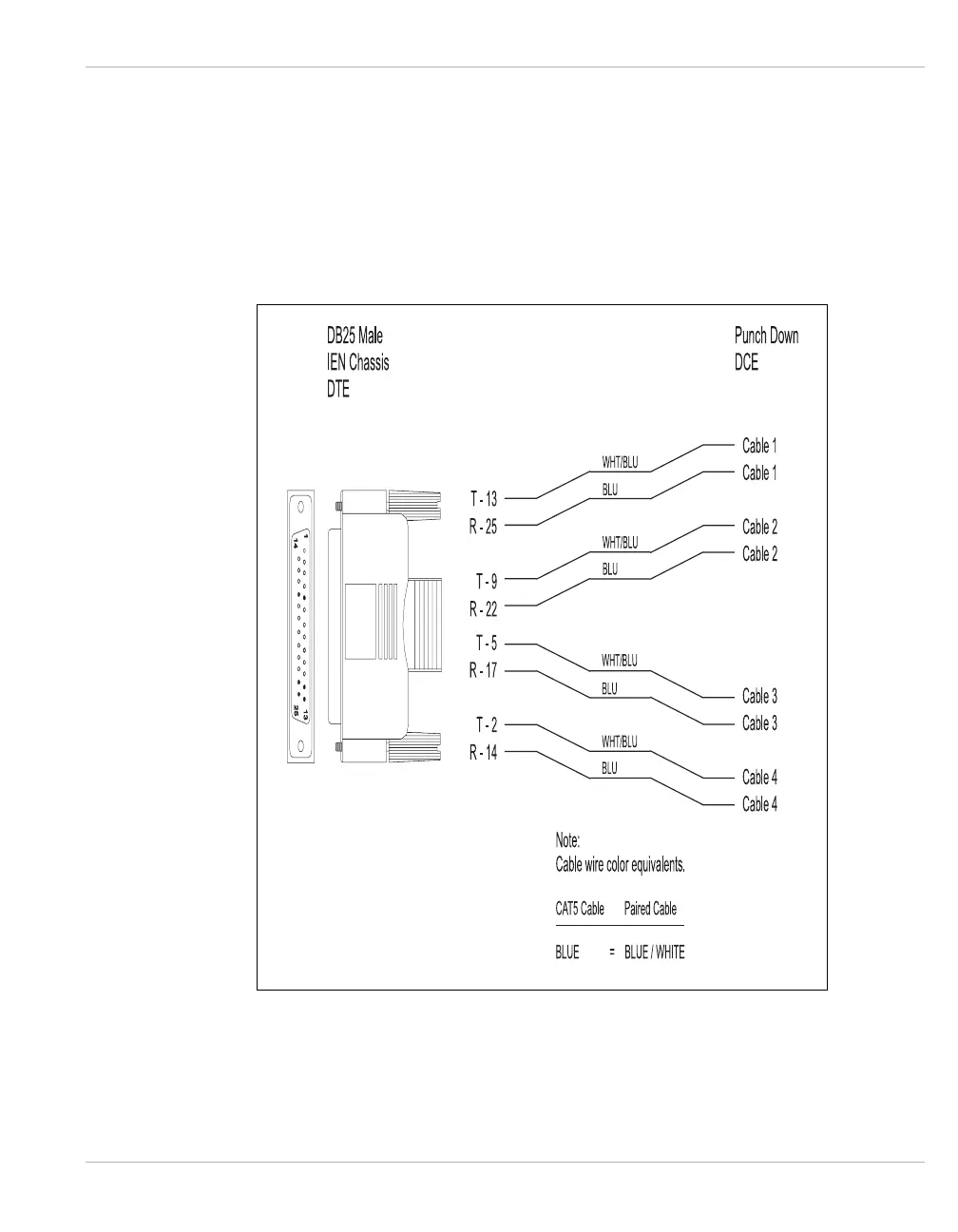
CABLE SPECIFICATIONS & ADAPTERS
940043-002 INTEGRATED ENTERPRISE NETWORK 4-11
Type ALG-PD
The Hypercom Type ALG-PD cable (#810142-001) is a male DB25 to punch-down cable.
The cable is used to connect a DLA14 port processor to a PBX using a punch-down block
termination. The cable provides four, 2-wire or two, 4-wire analog voice terminations
including E&M signalling leads. Figure 4-5 illustrates the pinout for the Type ALG-PD (four
two-wire) cable.
Figure 4-5 Type ALG-PD (Four 2-Wire) Cable Pinout

Table of Contents