EasyManua.ls Logo

Hypercom IEN 1000 - Type VF

Default Icon
198 pages
Print Icon
To Next Page IconTo Next Page
To Next Page IconTo Next Page
To Previous Page IconTo Previous Page
To Previous Page IconTo Previous Page
Loading...
CABLE SPECIFICATIONS & ADAPTERS
940043-002 INTEGRATED ENTERPRISE NETWORK 4-37
Type VF
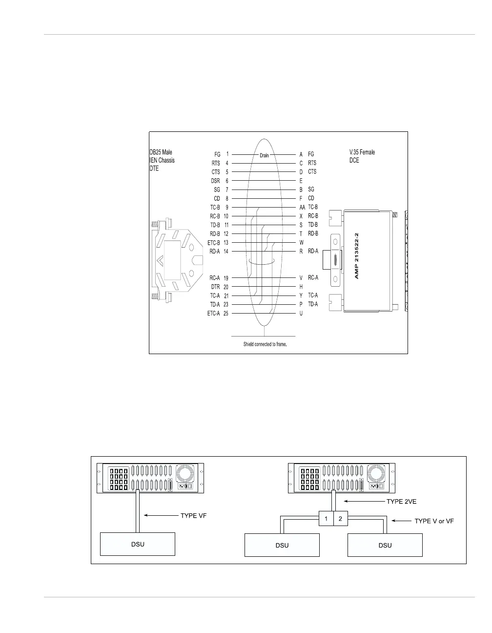
The Hypercom Type VF cable (#810019-001) is a male DB25 to female V.35 cable. The
cable is similar to the Type V cable, except this cable is terminated with a female V.35
connector. The length of the cable is 10’. Figure 4-50 illustrates the pinout for the Type VF
cable.
Figure 4-50 Type VF Cable Pinouts
The Type VF male DB25 connector is attached to the appropriate port of an IEN 1000,
IEN 2000, IEN 3000, IEN 4000 or IEN 5000 chassis. The Type VF female V.35 connector is
attached to a male V.35 DCE serial device or cable. Figure 4-51 illustrates the use of the
Type VF cable.
Figure 4-51 Type VF Cable Connection

Table of Contents