EasyManua.ls Logo

MUTOH ValueJet VJ1324X - Page 258

MUTOH ValueJet VJ1324X
264 pages
Print Icon
To Next Page IconTo Next Page
To Next Page IconTo Next Page
To Previous Page IconTo Previous Page
To Previous Page IconTo Previous Page
Loading...
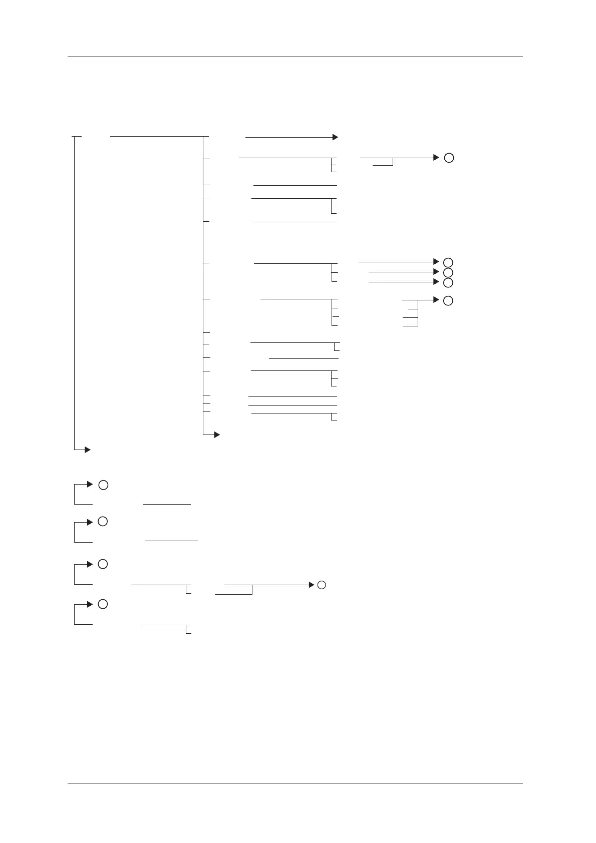
Setup menu diagram VJ-1324X OPERATION MANUAL
258
Setup menu diagram (Ready to Print) (1/4)
A
B
to Setup menu diagram(Ready to Print) (2/4)
to Setup menu diagram(Ready to Print) (3/4)
to Setup menu diagram(Ready to Print) (4/4)
A
B
C
Setup
Spitting
Side Margin
Media Initial
Media Width
(When Media Initial menu is "Off")
MediaWidth
(When Media Initial menu is not "Off")
Origin
Prev. Stick
<On>
On Media
<5 mm> to 25 mm
Off
Top&Width
<Width>
<Off>
On
SingleCut - 2 steps
<SingleCut - 3 steps>
DoubleCut - 2 steps
DoubleCut - 3 steps
Data
Machine
<Media>
<1 cnt> to 9 cnt
<0.0 sec> to 0.1 sec to 5.0 sec
Off
<On>
Standby Heating
Output Mode
10 min. to <60 min.>
User Type
Method of Cut
Head Travel
Multi Strike
Strike Wait
Slant Check
C
B
D
<Off>
Take U p
Auto Cut
Off
210mm to <1,000 mm> to 1,371 mm
Pass Count
<1 Cnt> to 999 Cnt
Ink Dry Timer
<0 Sec> to 60 min
Page Gap
<Normal>
Narrow
Spitting menu
Output Mode menu/Page Gap
Output Mode menu
D
Cut pressure
Low
<High>
Method of cut menu
B

Table of Contents

Related product manuals