EasyManua.ls Logo

MUTOH ValueJet VJ1324X - Page 72

MUTOH ValueJet VJ1324X
264 pages
Print Icon
To Next Page IconTo Next Page
To Next Page IconTo Next Page
To Previous Page IconTo Previous Page
To Previous Page IconTo Previous Page
Loading...
Before using VJ-1324X OPERATION MANUAL
72 3.6 Adjust Print
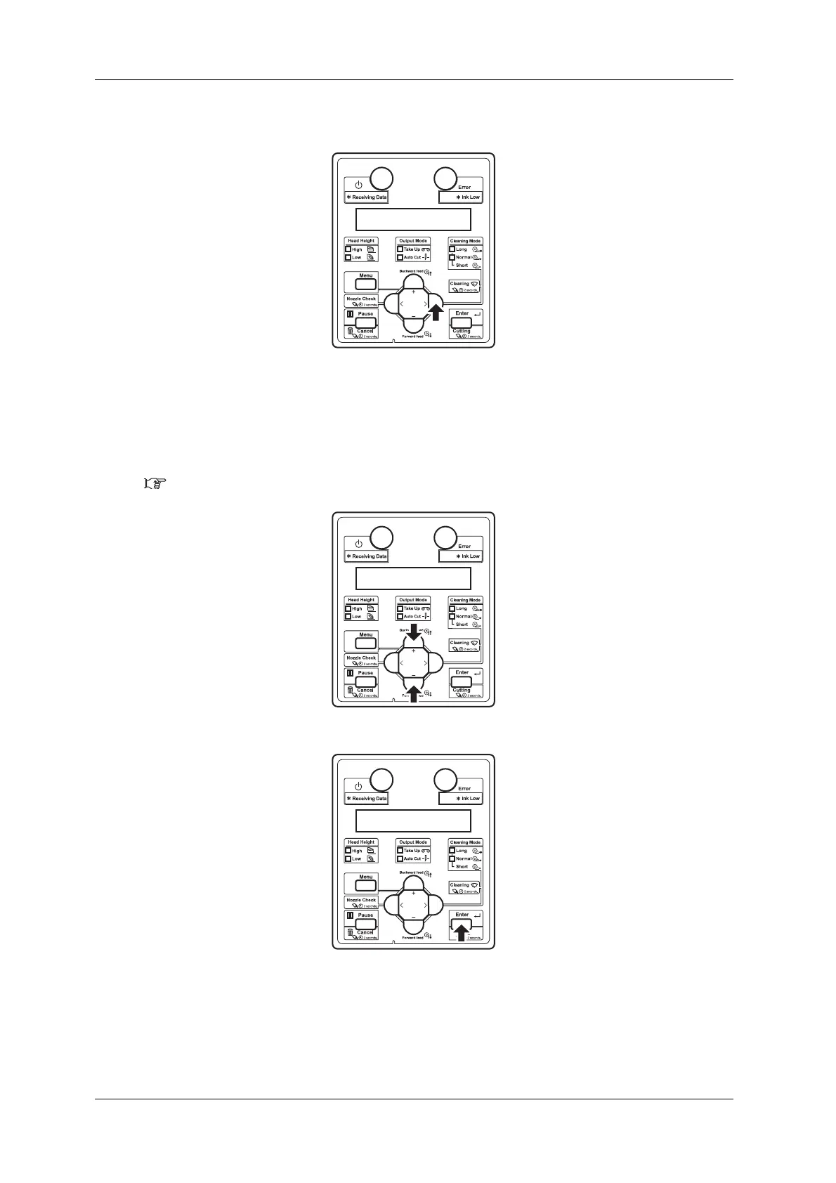
g. Press the [>] key on the operation panel.
“Thickness 170 µm” is displayed on the operation panel. (The default is set to 170 µm. If the
default value has been changed, the changed value is displayed.)
h. Press the [+] key or [-] key and enter the thickness of the paper to use in the range of 80 µm to
1,300 µm.
This setting is the same as “Media thickness menu”.
5.1.1.1.9 Media thickness menu
i. Press the [Enter] key on the operation panel.
Media thickness value is set.
“Adj.Print1: Standard” is displayed on the operation panel.

Table of Contents

Related product manuals