EasyManua.ls Logo

Raider 50 - Off-Idle Passage

Default Icon
246 pages
Print Icon
To Next Page IconTo Next Page
To Next Page IconTo Next Page
To Previous Page IconTo Previous Page
To Previous Page IconTo Previous Page
Loading...
Fuel System
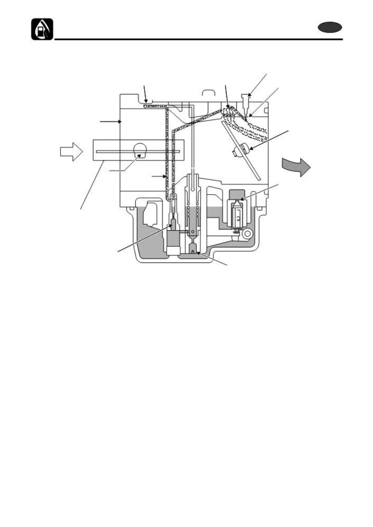
2) Off-Idle Passage
e
a
å
k
j
a - Air intake
b - Air-bleed inlet
c - Slow air jet
d - Bypass port
e - Pilot screw
f - Idle Port
g - Throttle valve
b d
f
g
c
h
i
h - Fuel inlet
i - Main jet
j - Slow jet
k - Choke valve
å Air
∫ Air-fuel mixture
When throttle valve is turned to a position over bypass port, the bypass port is exposed to vacuous pressure existing in the
back of throttle valve. The vacuous pressure causes the fuel to be ejected from bypass port and idle port.
4-12
2st 50D2 2011

Table of Contents