EasyManua.ls Logo

Raider 50 - High Speed Passage

Default Icon
246 pages
Print Icon
To Next Page IconTo Next Page
To Next Page IconTo Next Page
To Previous Page IconTo Previous Page
To Previous Page IconTo Previous Page
Loading...
Fuel System
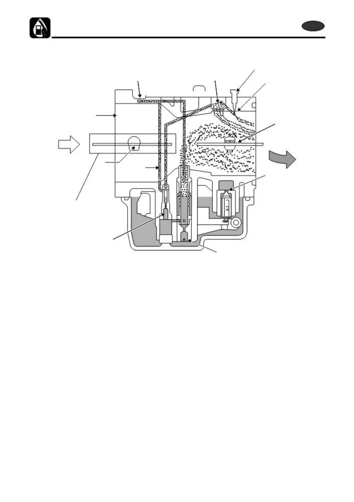
3) High Speed Passage
e
b
d
f
a
g
å
k
c
h
j
i
a - Air intake h - Fuel inlet
b - Air-bleed inlet i - Main jet
c - Slow air jet j - Slow jet
d - Bypass port k - Choke valve
e - Pilot screw å Air
f - Idle Port ∫ Air-fuel mixture
g - Throttle valve
As throttle valve is turned to a position over bypass port, the vacuum produced in the back of throttle valve extends to an area
near main nozzle. At the same time, as flow of air that runs through carburetor bore increase, the whole space in the venturi
becomes vacuous. The vacuous pressure in this venturi causes large suction force in the main nozzle. The fuel goes through main
jet, flows into main fuel well, goes through main nozzle, and ejects from venturi.
The fuel that runs through main nozzle is mixed with air that comes from air bleed hole made on the side of main nozzle to make
the fuel lighter. When throttle valve is fully open, the amount of fuel is determined by the size of main jet.
The idle and off-idle passages keep feeding fuel as well as air to the engine.
4-14
2st 50D2 2011

Table of Contents