EasyManua.ls Logo

Solartron 1250 - Page 177

Default Icon
195 pages
Print Icon
To Next Page IconTo Next Page
To Next Page IconTo Next Page
To Previous Page IconTo Previous Page
To Previous Page IconTo Previous Page
Loading...
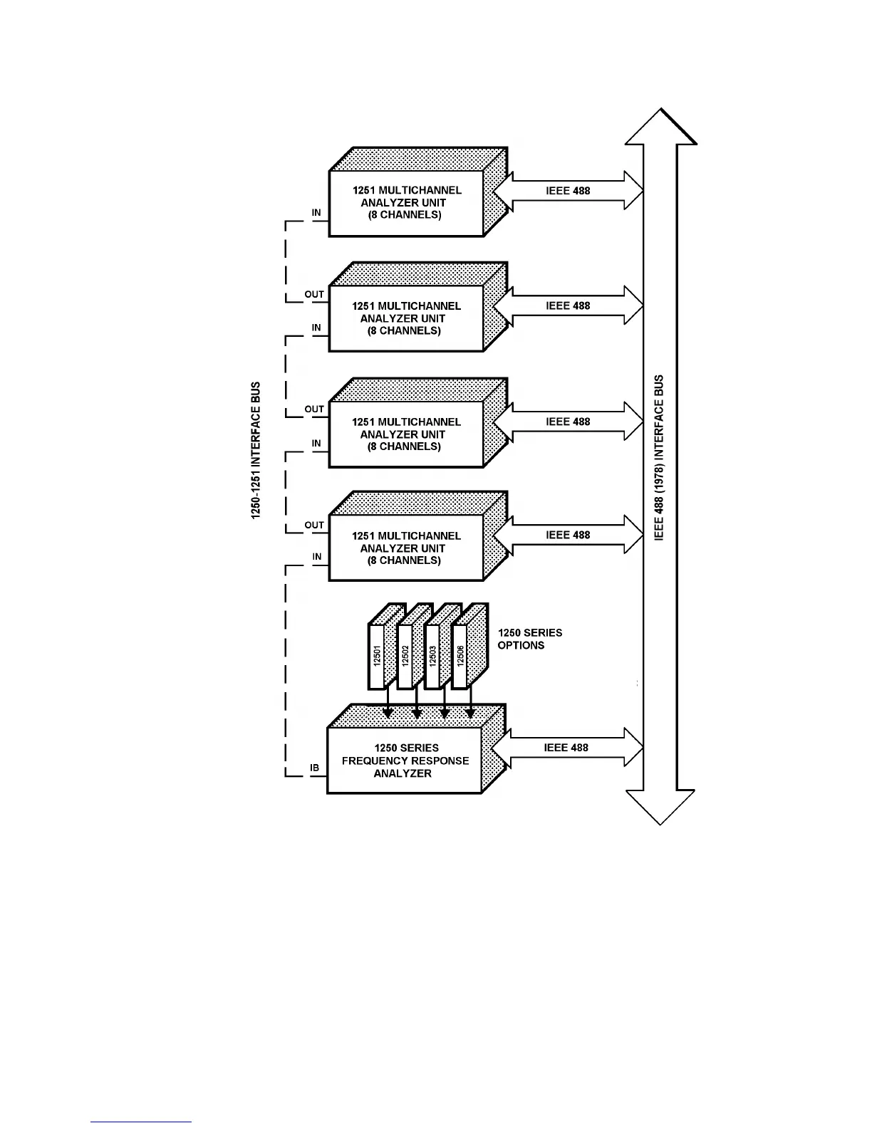
1250 Frequency Response Analyzer The 1251 Multichannel Analyzer System
AMK/1250/1 16-3
Fig. 16.1 - 1250/1251 Multichannel System Configuration

Table of Contents

Related product manuals