EasyManua.ls Logo

WEG CFW-09 - Read-Only Variables and Status

WEG CFW-09
362 pages
Print Icon
To Next Page IconTo Next Page
To Next Page IconTo Next Page
To Previous Page IconTo Previous Page
To Previous Page IconTo Previous Page
Loading...
89
CHAPTER 4 - KEYPAD (HMI) OPERATION
4.2.2
“Read-Only Variables
and Status
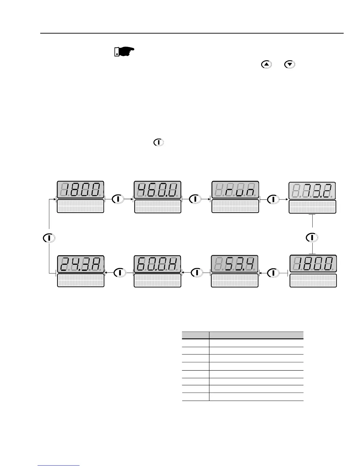
Parameters P002 to P099 are reservedfor the displayof “read-only values. The
factorydefault displaywhen power is applied to the inverteris P002. Motor speed
in rpm. The user can scroll through the various read-only parameters or use the
factory configured display of the key values. This is done by pressing the start
key
.
a)
Some selected “read-only variables can be viewed following the
procedurebelow:
The “read-only variable to be shown after AC power is applied to the inverter
is
defined in Parameter P205:
P205
Initial Monitoring Parameter
0
P005 (Motor Frequency)
1
P003 (Motor Current)
2
P002 (Motor Speed)
3
P007 (Output Voltage)
4
P006 (Inverter Status)
5
P009 (Motor Torque)
6
P070 (motor speed and motor current)
7
P040 (PID process variable)
Table 4.1
- Choosing the initial monitoring parameter
NOTE!
Reference Backup
The last frequency Reference set by the keys and is stored
when the
inverter is stopped or t
he
AC power is removed, provided P120 = 1
(Reference
Backup active is the factory default). To change the frequency reference before
starting the inverter, the value of parameter P121 must be changed.
Output
V
o
l
t
a
g
e
P00
7
=
4
6
0
V
V
F
D
S
t
a
t
u
s
P
0
0
6 =
r
u
n
M
o
t
o
r
F
r
e
q
u
ency
P0
0
5
=
6
0
.
0
H
z
Motor
Current
P
0
0
3
= 2
4
.3 A
Process Valiable
P
0
40 = 53
.
4 %
(Only if P203 = 1)
Press
Press
Press
Mot
o
r
T
o
r
q
u
e
P
0
0
9
=
7
3
.
2
%
Press
Press
Press
Press
M
o
t
or S
p
e
e
d
P
0
0
2
=
1
800 r
p
m
Press
Current = 24.3 A
P
0
0
2
=
1
800 r
p
m

Table of Contents

Other manuals for WEG CFW-09

Related product manuals