EasyManua.ls Logo

Yamaha 30D - Page 188

Yamaha 30D
384 pages
Print Icon
To Next Page IconTo Next Page
To Next Page IconTo Next Page
To Previous Page IconTo Previous Page
To Previous Page IconTo Previous Page
Loading...
6-6
E
LOWR
DISASSEMBLY
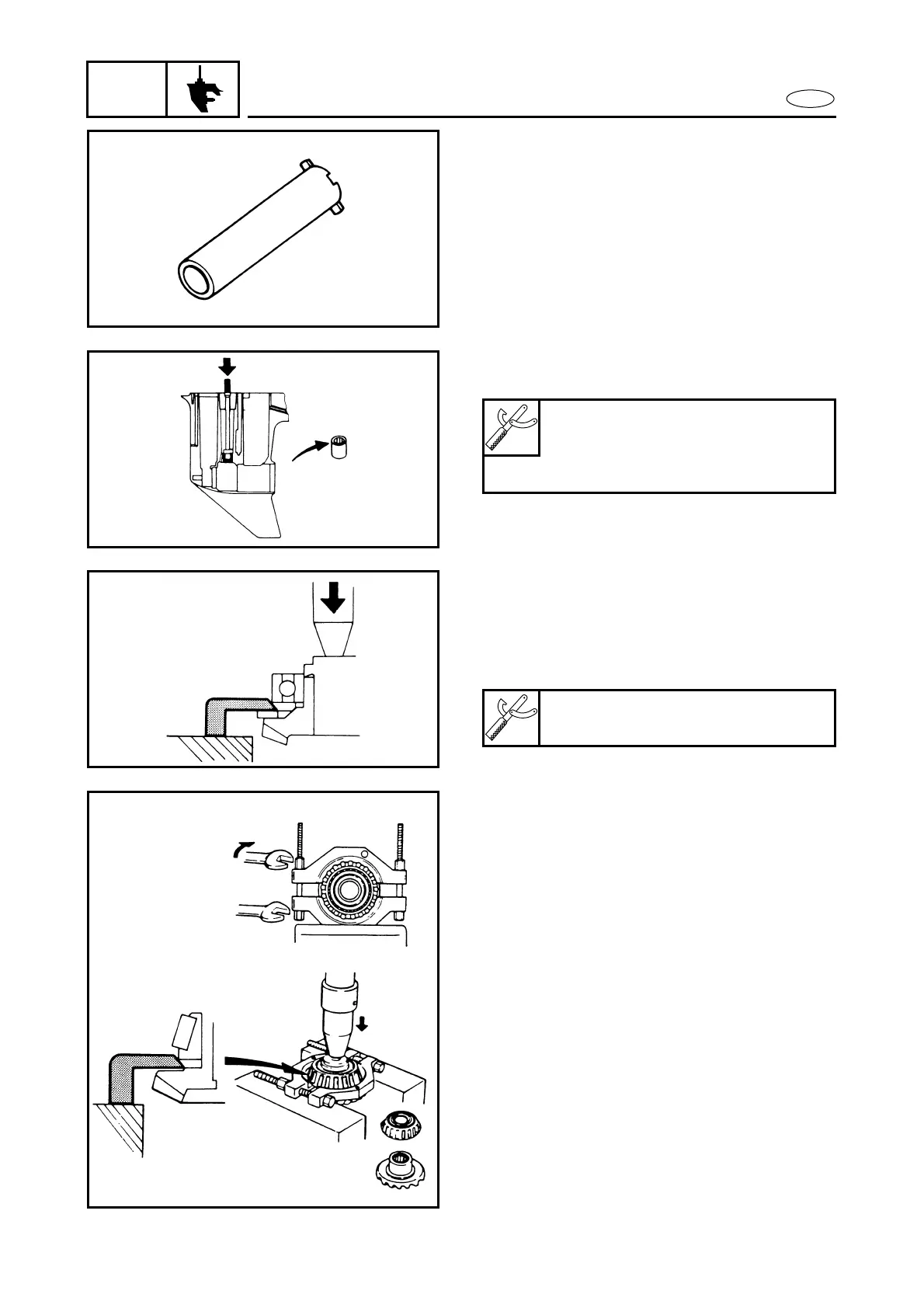
Drive shaft sleeve
Drive shaft needle bearing
Using special service tool.
Drive rod:
YB-6229/90890-06602
Needle bearing attachment:
YB-6082/90890-06615
Reverse gear bearing and forward
gear bearing.
Separate the bearing from the gear.
Using special service tool and
hydraulic press.
Bearing separator:
YB-6219/90890-06534
Note the following points:
For ease of reassembly and adjust-
ment, keep shim packs in their groups
as removed.
To remove an oil-seal and bearing,
following the instructions in the illus-
trations.

Table of Contents

Other manuals for Yamaha 30D

Related product manuals