EasyManua.ls Logo

CAI 700M - Alarm Log

CAI 700M
205 pages
Print Icon
To Next Page IconTo Next Page
To Next Page IconTo Next Page
To Previous Page IconTo Previous Page
To Previous Page IconTo Previous Page
Loading...
700M HFID 6-2-15
128
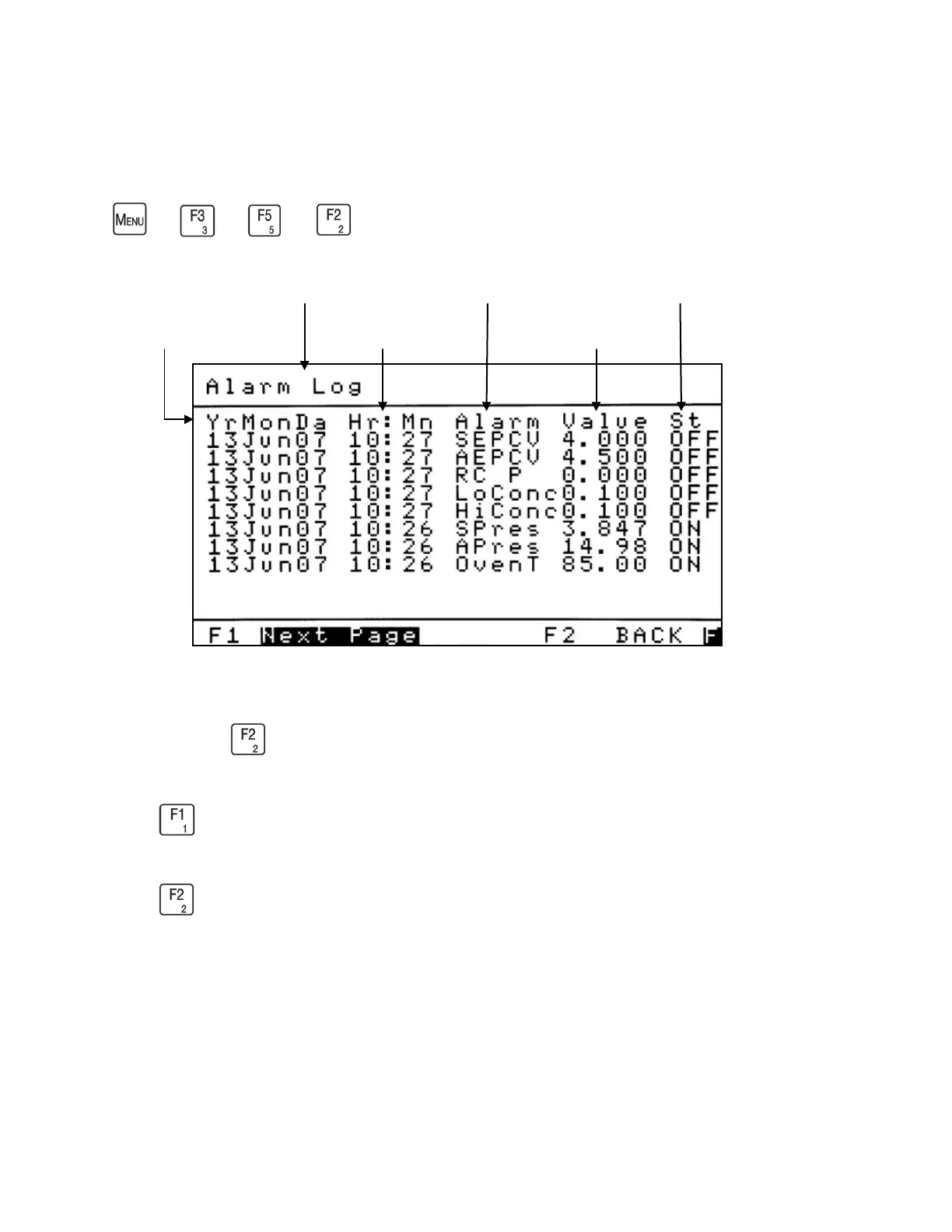
Alarm Log
The Alarm Log allows the operator to view the analyzer’s last 40 alarms and their current
statuses. Press to access the Alarm Log screen from the Alarms menu.
Press to view the next page.
Press to return to the previous screen.
Screen Name
Year / Month / Day
Hour / Minute
Alarm Abbreviation
Alarm Value
Alarm Status

Table of Contents

Related product manuals