EasyManua.ls Logo

CAI 700M - CH 4 Correction Factors

CAI 700M
205 pages
Print Icon
To Next Page IconTo Next Page
To Next Page IconTo Next Page
To Previous Page IconTo Previous Page
To Previous Page IconTo Previous Page
Loading...
700M HFID 6-2-15
104
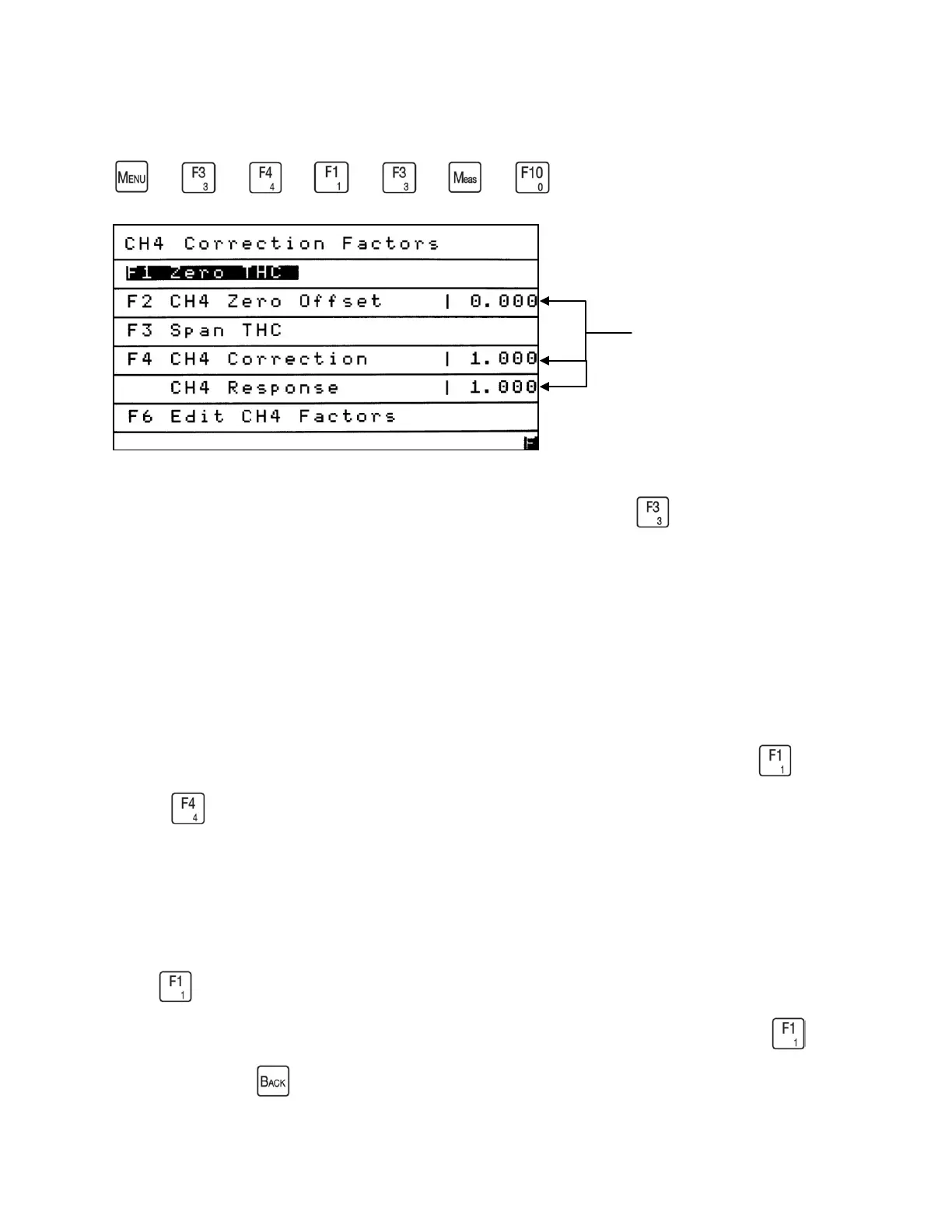
CH
4
Correction Factors
or
CH
4
Correction Factors allows the operator to adjust small offsets between the THC and
CH
4
modes while operating in the THC/CH
4
/NMHC Mode. Press to access the CH
4
Correction Factors menu from the Measure Settings menu.
Notes:
CH
4
Correction Factors is for advanced operators only and not necessary for normal
operation.
CH4 Response Factor should be added before correction Factors.
To properly adjust for any offsets, all four steps need to be done in order from thru
.
There is only one set of Offset and Correction Factor for all ranges.
Calibrating in CH
4
single mode will automatically reset the Offset and CH
4
Correction
Factor to the default settings of “0” and “1”.
Press to set the analyzer in THC mode and enter the Manual Zero Calibration screen.
Introduce zero gas into the rear of the analyzer. Once the concentration stabilizes, press to
set the Zero. Press to return to the CH
4
Correction Factors menu.
Current Settings

Table of Contents

Related product manuals