EasyManua.ls Logo

Canon MF3110 - ImageCLASS Laser Multifunction - Page 167

Canon MF3110 - ImageCLASS Laser Multifunction
176 pages
Print Icon
To Next Page IconTo Next Page
To Next Page IconTo Next Page
To Previous Page IconTo Previous Page
To Previous Page IconTo Previous Page
Loading...
F-5-13
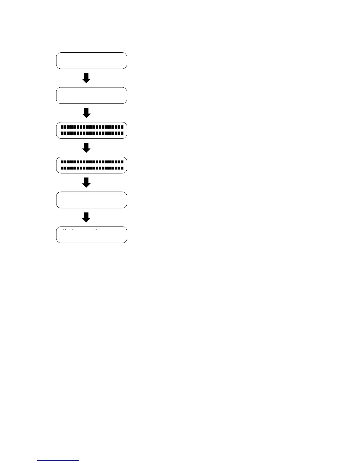
Press Start Key
H pattern displayed
6-3 OPERATION PANEL
HHHHHHHHHHHHHHHHHHHH
HHHHHHHHHHHHHHHHHHHH
Press Start Key
All LCD dots displayed
Press Start Key
Press Start Key
Press the Stop key to end the test
The LED lamps other than the
Energy Saver key go on
When the entire
display has goes out
When a key is pressed, the
corresponding character goes out
123456789*0#ABCDEDFG
HIJ Q
WORLD:

Table of Contents

Related product manuals