EasyManua.ls Logo

CASE CONSTRUCTION CX145D SR - Hydraulic Tank Breather

CASE CONSTRUCTION CX145D SR
322 pages
Print Icon
To Next Page IconTo Next Page
To Next Page IconTo Next Page
To Previous Page IconTo Previous Page
To Previous Page IconTo Previous Page
Loading...
6-MAINTENANCE
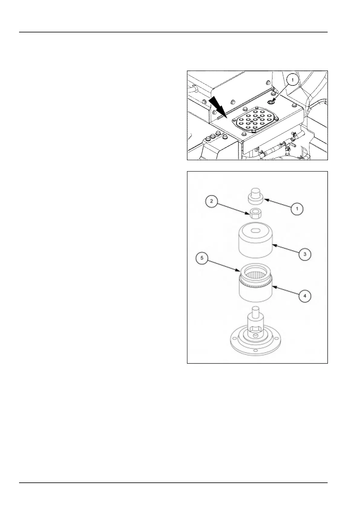
Hydraulictankbreather
Replacethehydraulictankbreatherevery1000h
1.Pressthebutton(1)toreleaseallthepressureinthe
hydraulictank.
2.Removethepaneloverthehydraulictank.Cleanthe
topsurfaceofthehydraulictank.
SMIL17CEX3530AA1
3.Removethenut(2)andthecover(3)fromthebreather.
4.Removeanddiscardtheusedlterelement(4).
5.Attachanewelement(4)withtheseal(5)facingup.
6.Attachthecover(3)togetherwiththenut(2).
SMIL14CEX2782BB2
6-48

Table of Contents

Related product manuals