EasyManua.ls Logo

Cisco ASR 5000 Series - Page 62

Cisco ASR 5000 Series
317 pages
Print Icon
To Next Page IconTo Next Page
To Next Page IconTo Next Page
To Previous Page IconTo Previous Page
To Previous Page IconTo Previous Page
Loading...
Installation Procedure Overview
ASR 5000 Installation Guide
62
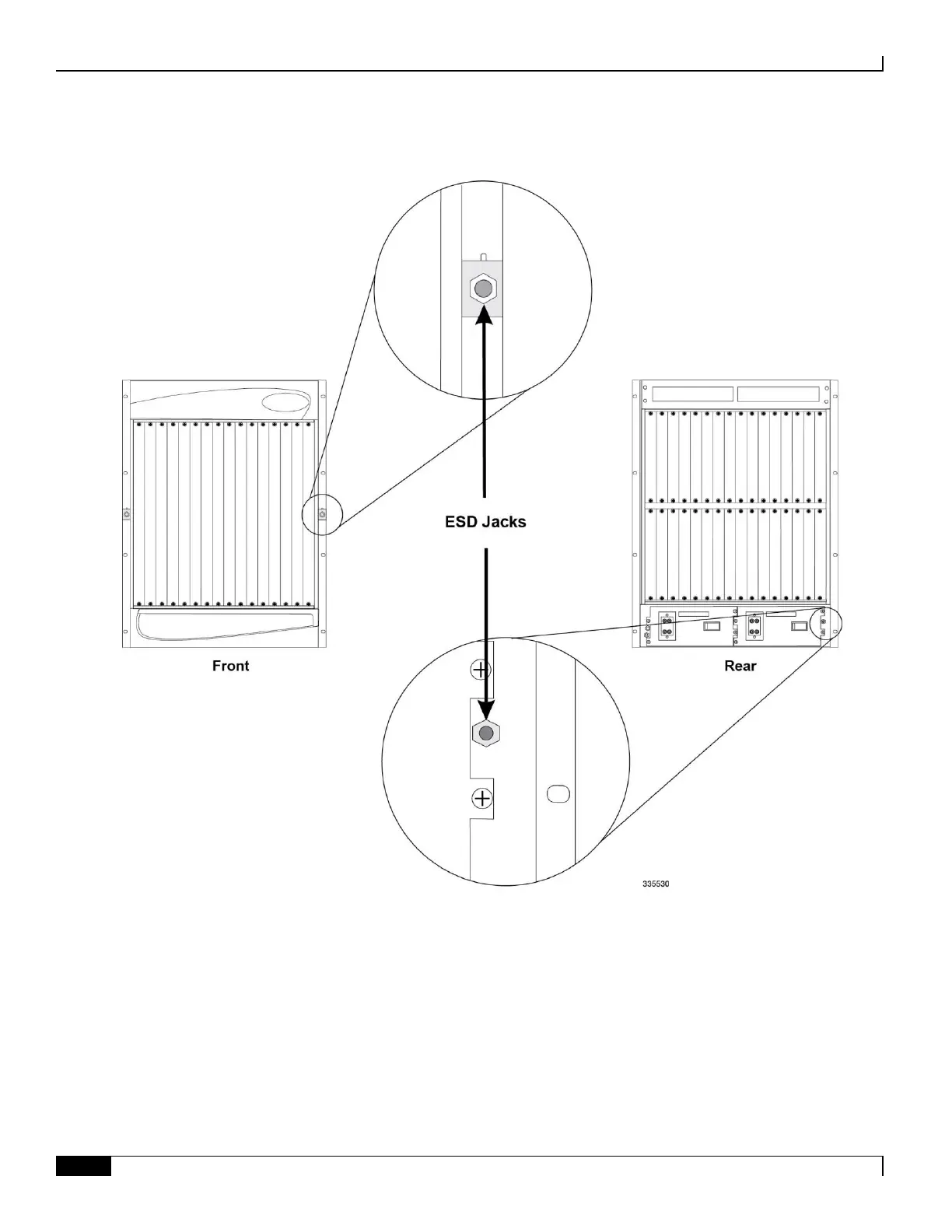
Figure 22. Location of Chassis ESD Jacks

Table of Contents

Other manuals for Cisco ASR 5000 Series

Related product manuals