EasyManua.ls Logo

Claas LEXION 480 - Preconcave, Disassembled

Claas LEXION 480
1018 pages
Print Icon
To Next Page IconTo Next Page
To Next Page IconTo Next Page
To Previous Page IconTo Previous Page
To Previous Page IconTo Previous Page
Loading...
188 678.1 - RHB LEXION 480 3.2.5
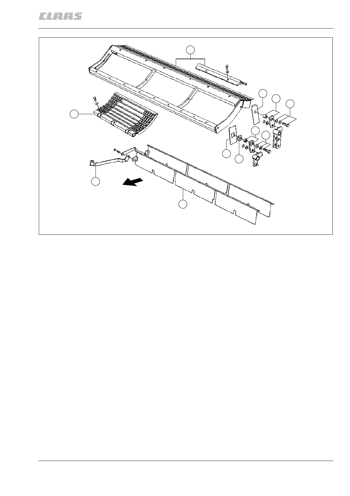
Threshing concave
Preconcave, disassembled
1 Preconcave with concave segment
2 Preconcave segment
3 Sealing plate
4Wear strip
5 Mounting plate with bushing
6 Hex. bolt M 20 x 80 DIN 931-8.8
Washer 21
Safety washer 20
7 Sealing plate
8 Mounting plate with bushing
9 Disawner plates
10 Brace
(Fig. 15)
15
31394
4
2
8
5
6
7
3
10
9
1
6

Table of Contents

Related product manuals