EasyManua.ls Logo

Claas LEXION 480 - Assembling the Threshing Mechanism Drive Pulley

Claas LEXION 480
1018 pages
Print Icon
To Next Page IconTo Next Page
To Next Page IconTo Next Page
To Previous Page IconTo Previous Page
To Previous Page IconTo Previous Page
Loading...
188 678.1 - RHB LEXION 480 7.6.21
Right-hand threshing mechanism drive
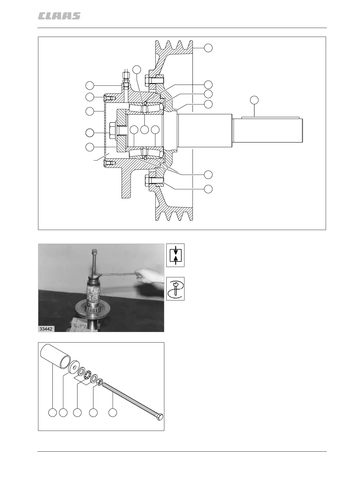
Assembling the threshing mechanism drive pulley
1. Slide the bearing seal ring (2) onto the flanged
shaft.
2. Press the bearing inner race (4) onto the flanged
shaft using the special tool.
(Fig.54,55,56)
Special tool:
1 Hex. bolt M 16 x 300 SP DIN 933-8.8,
part no. 237 375.1
2 Hex. nut M 16 DIN 934, part no. 236 173.0
3 Axial grooved ball bearing, part no. 177 899.0
4 Washer, part no. 577 557.0
5 Tube, inside 55 x 100 long (self-sourced)
(Fig. 57)
55
33603
3
F
13
1
2
3
4
8
9
1010
15
5
6
7
11
12
14
56
33443
1
2
3
4
5
57
Right-hand threshing mechanism drive

Table of Contents

Related product manuals