EasyManua.ls Logo

Develop D 1531iD - Miscellaneous

Develop D 1531iD
259 pages
Print Icon
To Next Page IconTo Next Page
To Next Page IconTo Next Page
To Previous Page IconTo Previous Page
To Previous Page IconTo Previous Page
Loading...
FrameMaker Ver.5.5E(PC) DIS/REASSEMBLY, ADJUSTMENT FOR Di152/Di183
01.09.03
D-68
4-6. MISCELLANEOUS
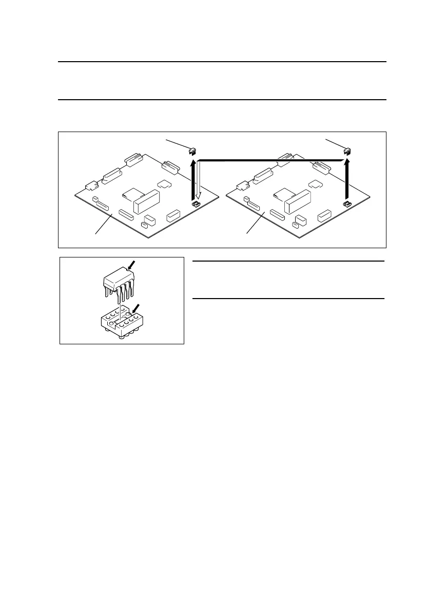
(1) Remounting the EEPROM (U29)
NOTE
When the Control Board (PWB-C) is replaced with a new one, EEPROM (U29) must be
demounted from the old PWB-C and remounted on the new PWB-C.
Remove the EEPROM (U29) from the new Control Board and mount the EEPROM (U29) of
the old Control Board to the new Control Board.
New EEPROM Old EEPROM
New Control Board Old Control Board
4022D031AA
NOTE
Note the alignment notch marked with A on the
EEPROM (U29) when mounting the IC.
1171D049AA
A
A

Table of Contents

Related product manuals