EasyManua.ls Logo

Hypercom IEN 1000 - Page 157

Default Icon
198 pages
Print Icon
To Next Page IconTo Next Page
To Next Page IconTo Next Page
To Previous Page IconTo Previous Page
To Previous Page IconTo Previous Page
Loading...
CABLE SPECIFICATIONS & ADAPTERS
940043-002 INTEGRATED ENTERPRISE NETWORK 4-49
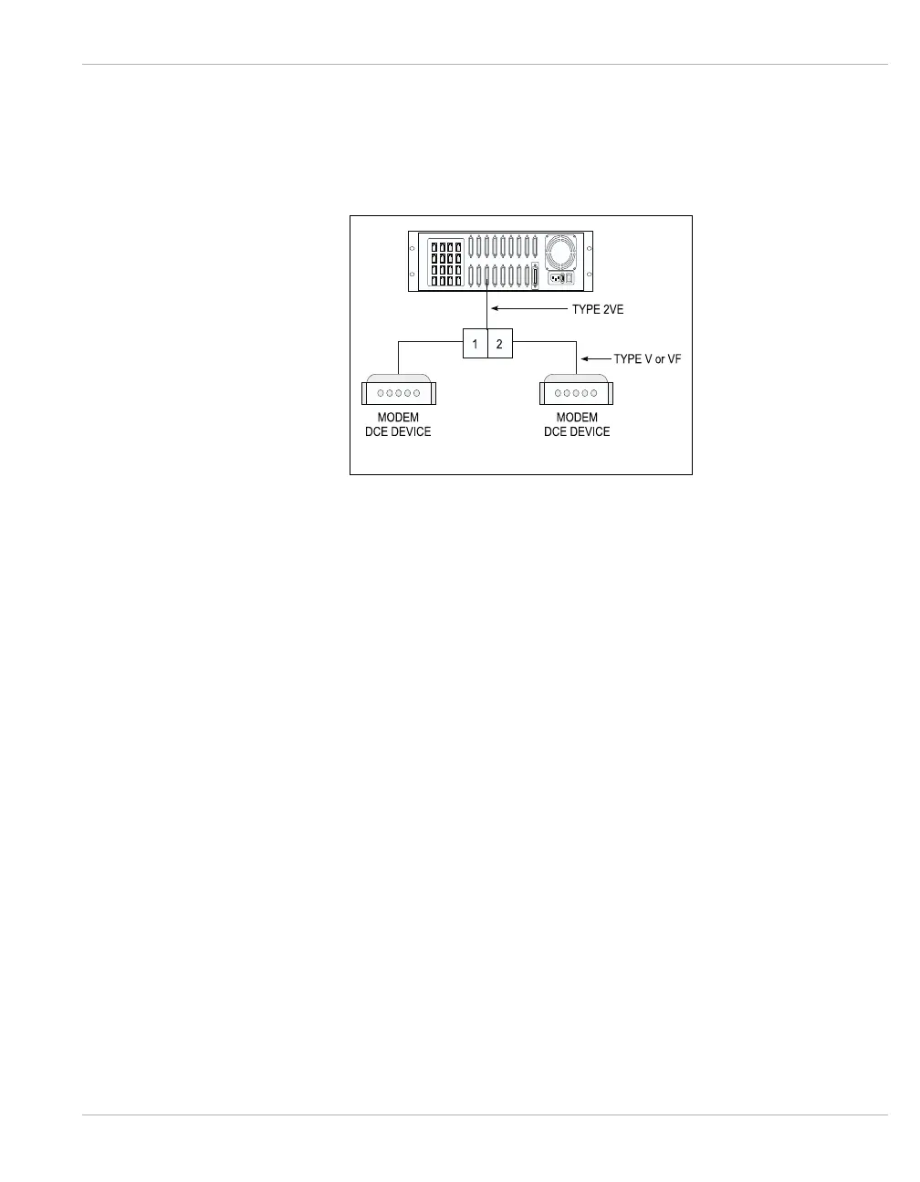
The Type 2VE male DB25 connector is attached to an IEN 2000, IEN 3000, IEN 4000 or
IEN 5000 chassis port that corresponds to the slot occupied by the CID61-Dual port
processor. Each female DB25 connector requires a Type V or VF cable which is then
attached to the V.35 DCE device. Figure 4-65 illustrates the use of the Type 2VE cable.
Figure 4-65 Type 2VE Cable

Table of Contents