EasyManua.ls Logo

IMO iSmart V4 - Page 253

IMO iSmart V4
274 pages
Print Icon
To Next Page IconTo Next Page
To Next Page IconTo Next Page
To Previous Page IconTo Previous Page
To Previous Page IconTo Previous Page
Loading...
Chapter 9 Expansion Module 222
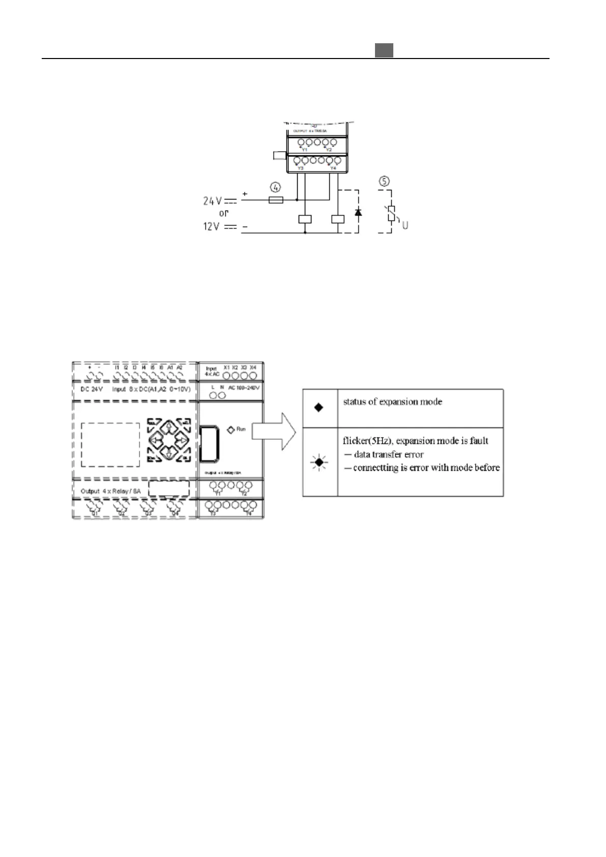
4) Transistor output
-1A quick-blowing fuse, circuit-breaker or circuit protector
-Surge absorber (43V DC)
-Surge absorber (Input 24VAC:43V; Input 100~240VAC:430V AC)
-Fuse, circuit-breaker or circuit protector
-Inductive load
A
C inductive load needs to connect Surge absorber in parallel way to absorb the noise if the iSmart output
terminal is the relay type. DC inductive load needs parallel connect commute diode if the iSmart output terminal
is the relay type. The specification of inverse voltage for commute diode should be more than 5~10 times the
rated current of the circuit, and the specification of positive current of diode should be more than load current.
Inductive load needs parallel connect commute diode if the iSmart output is transistor.
Digital IO module and Analog module both have indicator light in orange color. The state of indicator light in
different operation state is the same. The state of indicator light is shown below.

Table of Contents