EasyManua.ls Logo

Maeda LC1385M-8BF - Page 19

Default Icon
384 pages
Print Icon
To Next Page IconTo Next Page
To Next Page IconTo Next Page
To Previous Page IconTo Previous Page
To Previous Page IconTo Previous Page
Loading...
1-11
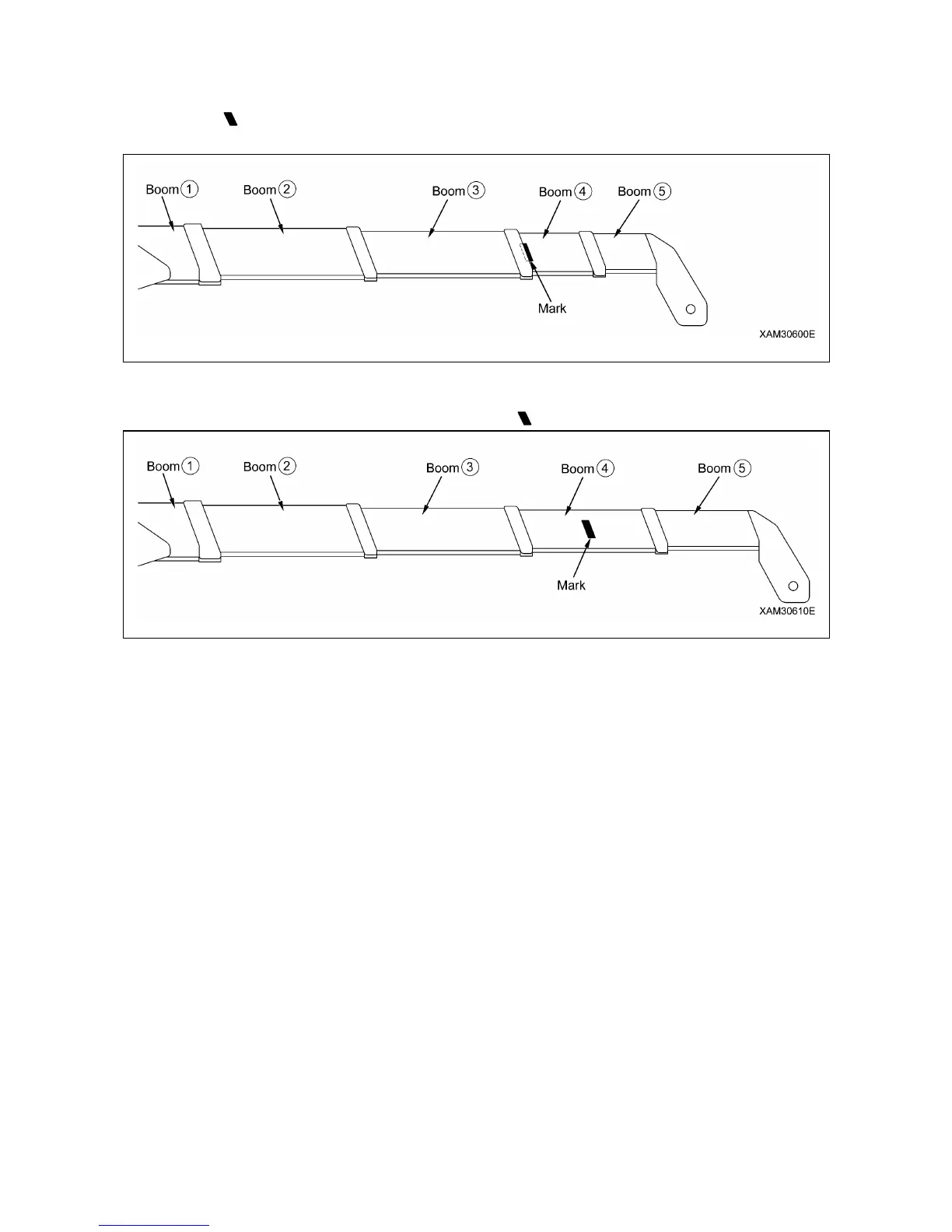
4. (4) 13.385m Boom: With booms (2) and (3) fully extended, booms (4) and (5) are extended midway
(half of the “
mark” passes boom (3)).
Boom (4) is to apply to crane operation with booms (4) and (5) extended even if only slightly.
5. “(5) 16.265m Boom: All the booms are fully extended.
Boom (5) is to apply to crane operation with half of the “
mark” on boom (4) passes boom (3).

Table of Contents

Related product manuals