EasyManua.ls Logo

Piper Warrior III - PANEL LIGHTS

Piper Warrior III
1104 pages
Print Icon
To Next Page IconTo Next Page
To Next Page IconTo Next Page
To Previous Page IconTo Previous Page
To Previous Page IconTo Previous Page
Loading...
PIPER AIRCRAFT, INC.
PA-28-161, WARRIOR III
MAINTENANCE MANUAL
PAGE 5
Nov 30/06
5I19
91-33-10
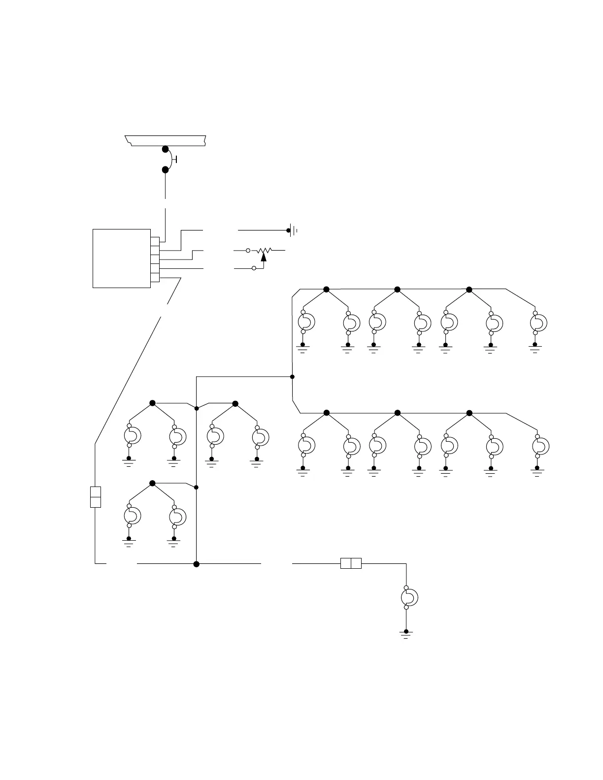
ELECTRICAL BUS
PANEL/SWITCH
LIGHTS
CLOCK
(OPT)
ALTIMETER AIRSPEED
INDICATOR
VERTICAL
SPEED
INDICATOR
TURN
COORDINATOR
VAC
ENG
GAUGE
TAC H
FUEL
QTY
A
D
B
C
F
COMPASS
INSTRUMENT
PANEL
POST
LIGHTS
DIMMER
ASSY
L5C 20N
L5D 20
L5E 20
L5A 20
L5B 20
L5E 20
L3G 20
5K
2
1
7.5 A
ATTITUDE
INDICATOR
DIRECTIONAL
GYRO
85423 F
104295 F
Panel Lights
Figure 4 (Sheet 1 of 2)

Table of Contents

Related product manuals