EasyManua.ls Logo

Piper Warrior III - Page 725

Piper Warrior III
1104 pages
Print Icon
To Next Page IconTo Next Page
To Next Page IconTo Next Page
To Previous Page IconTo Previous Page
To Previous Page IconTo Previous Page
Loading...
PIPER AIRCRAFT, INC.
PA-28-161, WARRIOR III
MAINTENANCE MANUAL
PAGE 3
Nov 30/06
4D23
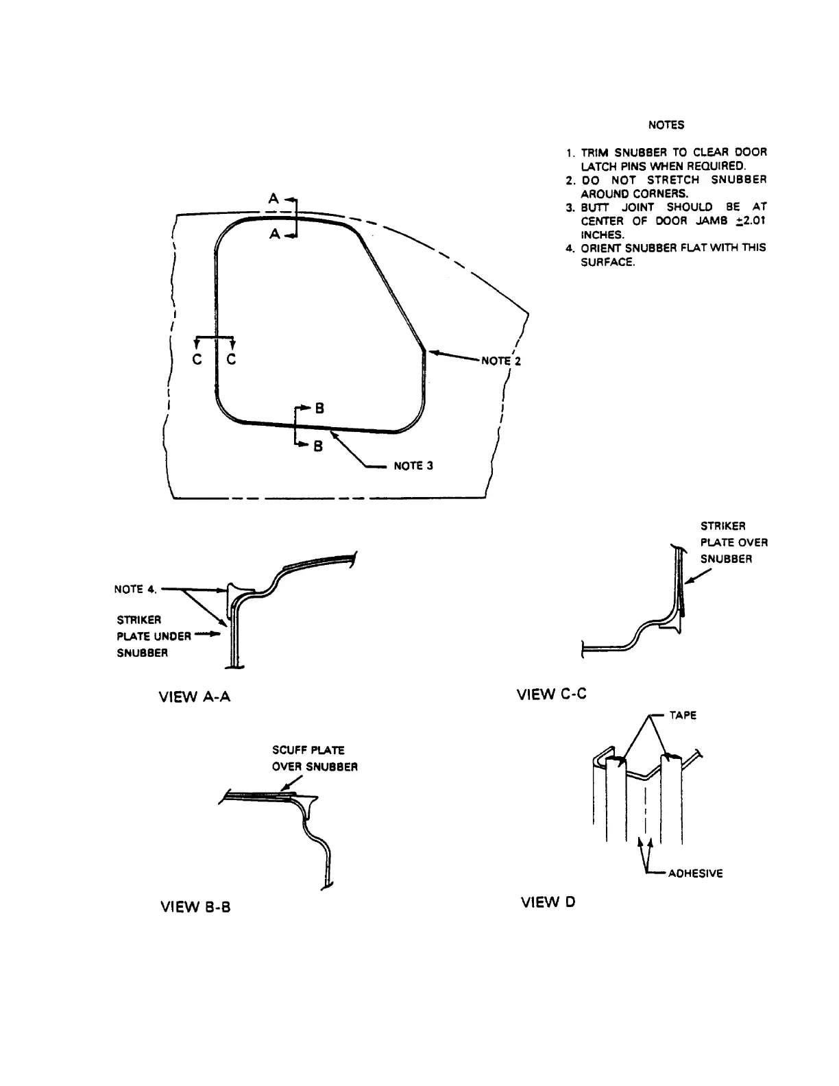
52-10-00
Door Snubber Seal Installation
Figure 1

Table of Contents

Related product manuals