EasyManua.ls Logo

Cub Cadet 7360SS - Hydraulic Linkage Disassembling; Hydraulic Linkage Removal

Cub Cadet 7360SS
170 pages
Print Icon
To Next Page IconTo Next Page
To Next Page IconTo Next Page
To Previous Page IconTo Previous Page
To Previous Page IconTo Previous Page
Loading...
156
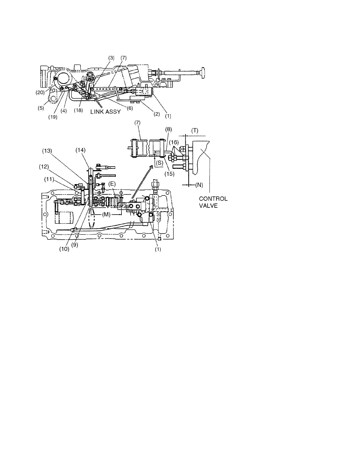
1. Control valve removal
1)
Remove snap ring on the pin at plate (8) and
disconnect the control valve (1) and link H (7).
2) Remove fixing bolts of control valve and
remove control valve (1), lubrication pipe,
and guide.
3) Loosen lock nuts (16) and remove plate (8)
from control valve.
2. Hydraulic linkage removal
1) Remove spring pin at lever A (14) and
remove lever A (14) and lever B (13).
2) Remove snap ring at link H (7) and link (6)
and remove link H (7), pin and collars (3).
3) Remove spring (4).
4) Remove snap ring at position shaft (9) and
draft shaft (10) and disconnect from link B (17).
5) Remove snap rings at link J (18) and
remove link J (18).
6) Remove snap rings at link E (20) and
remove link E (20).
7) Remove spring pin at arm (12) and remove
arm (12), shaft (11) and link (19).
8) Remove pin from power arm.
(2) HYDRAULIC LINKAGE DISASSEMBLING
(1)CONTROL VALVE
(2)GUIDE
(3)ROLLER
(4)SPRING
(5)POWER ARM
(6)LINK
(7)LINK H
(8)PLATE
(9)POSITION SHAFT
(10)DRAFT SHAFT
(11)SHAFT
(12)ARM
(13)LEVER B
(14)LEVER A
(15)LINER
(16)NUT
(17)LINK B
(18)LINK J
(19)LINK
(20)LINK E

Table of Contents

Related product manuals