EasyManua.ls Logo

Dynon Avionics SkyView - Tachometer

Dynon Avionics SkyView
276 pages
Print Icon
To Next Page IconTo Next Page
To Next Page IconTo Next Page
To Previous Page IconTo Previous Page
To Previous Page IconTo Previous Page
Loading...
SV-EMS-220 Installation and Configuration
7-28 SkyView System Installation Guide - Revision K
Tachometer
Tachometer pulses/revolution must be set in the Engine Information Wizard
(SETUP MENU > EMS SETUP > ENGINE INFORMATION).
Dynon Avionics does not sell a tachometer transducer.
Depending upon existing equipment and engine type, you have a few options for connecting
the tachometer inputs on the SV-EMS-220. The following table revisits the SV-EMS-220 pins
that are compatible with RPM sources.
Pin
Wire Color
Function
32
White/Green
Standard RPM Input Left (10+ volts)
33
White/Blue
Standard RPM Input Right (10+ volts)
34
Blue
Low Voltage RPM Input Left (2 to 10 volts)
35
Green
Low Voltage RPM Input Right (2 to 10 volts)
Table 32SV-EMS-220 RPM Inputs
See the relevant subsections below for your particular method. You may connect different
types of signals to the two different RPM inputs (e.g., p-lead to Standard RPM Left and a 12 volt
transducer to Standard RPM Right).
If a standard RPM input is used, do not connect anything to the low voltage input
of the same polarity (i.e., right or left). If a low voltage RPM input is used, do not
connect anything to the corresponding standard RPM input.
Tachometer transducer
If you have a dedicated tachometer transducer (usually with a 12 volt output), you may simply
connect its output to the Standard RPM Left input on the SV-EMS-220. Ensure that you follow
all recommendations given in the manual for your individual tachometer transducer.
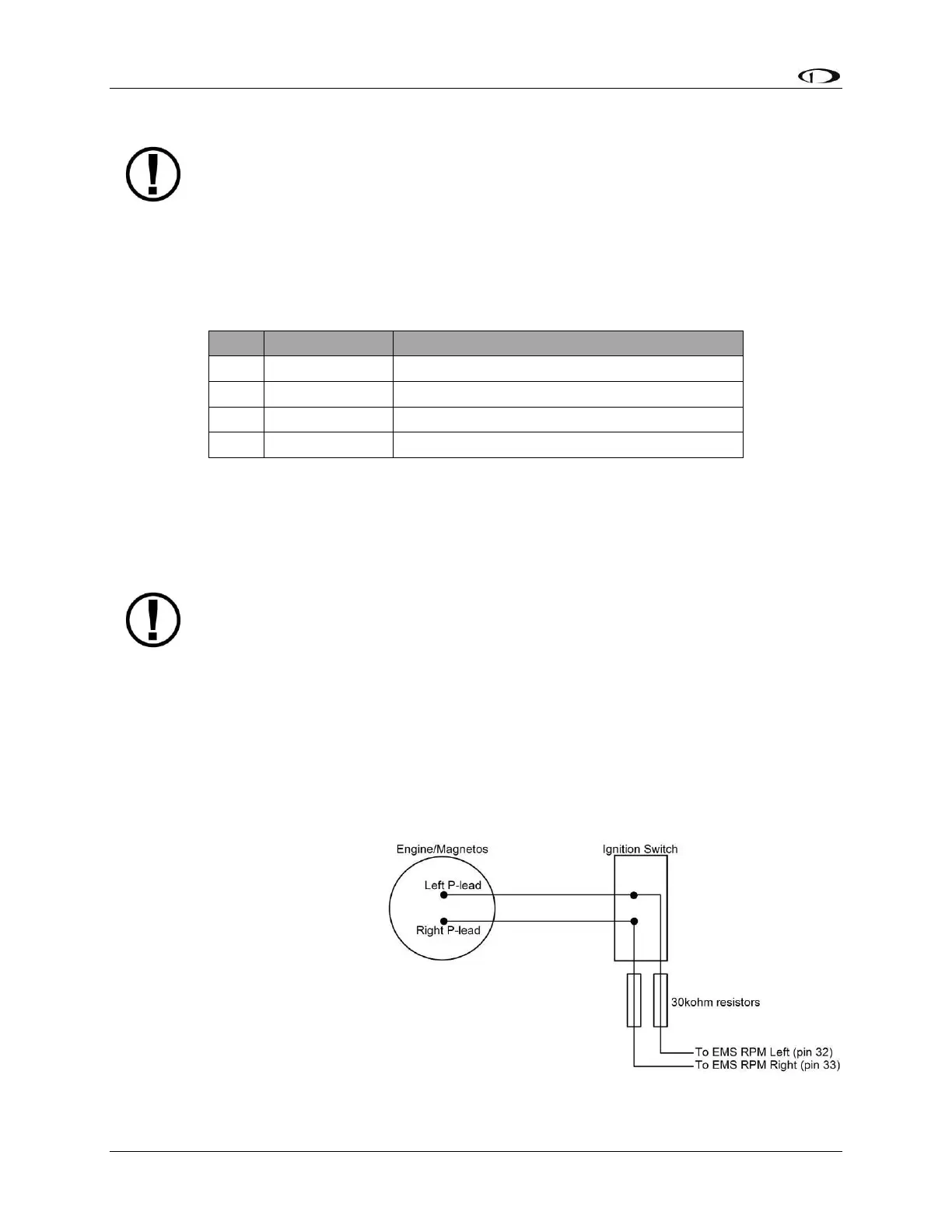
P-lead pickoff (Lycoming and Continental)
If you do not have a dedicated
tachometer pickoff, you must
follow the instructions below.
Use the two included 30 kΩ
resistors (color bands: orange,
black, brown, red, brown; connect
in either direction) to attach left
and right P-leads to the standard
RPM Left and RPM Right inputs on
the SV-EMS-220. Connect them as
shown in Figure 27. It is important
to connect each resistor as close
Figure 27Magneto Pick Off

Table of Contents

Other manuals for Dynon Avionics SkyView

Related product manuals