EasyManua.ls Logo

Dynon Avionics SkyView - Page 223

Dynon Avionics SkyView
276 pages
Print Icon
To Next Page IconTo Next Page
To Next Page IconTo Next Page
To Previous Page IconTo Previous Page
To Previous Page IconTo Previous Page
Loading...
Accessory Installation and Configuration
SkyView System Installation Guide - Revision K 14-9
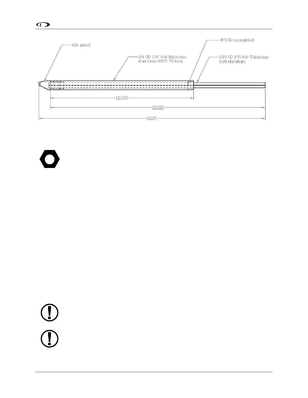
Figure 84Boom Mount AOA/Pitot Probe Dimensions
Plumbing
Because the pitot and AOA plumbing tubes have not been annealed, they work-
harden rapidly when manipulated. Make gentle bends, and only bend any given
section once.
After mounting the probe, route the pitot and AOA lines from the probe to the SV-ADAHRS-20X.
The tube closest to the snout is the pitot line, while the tube in the rear is the AOA line. There is
no static source on the probe.
After mounting the probe, install tubing interface hardware to connect the 3/16 plumbing lines
from the probe to whatever plumbing lines run back to the SV-ADAHRS-20X in your aircraft.
Make sure the plumbing lines do not chafe or interfere with any aircraft control systems.
Pressure Check
Dynon’s pitot design deliberately has a pin-sized leak hole in each of the two tubes to permit
draining any moisture which might accumulate inside. These holes are located in the middle of
the tube at the bottom. Plugging these holes does not guarantee a pneumatic seal (although
one is sometimes present). The leak that may exist does not affect the performance of the
probe. You will, however, need to take it into account when doing pressure/leak tests on your
pitot system.
Calibration
It is your responsibility to fly your plane safely while performing any configuration
or calibration in flight. The best scenario includes a second person to perform any
necessary steps on any SkyView components.
You should familiarize yourself with the AOA calibration procedure before flight by
reading through the instructions in the AOA Calibration Wizard (SETUP MENU >
HARDWARE CALIBRATION > ADAHRS CALIBRATION > AOA CALIBRATION).

Table of Contents

Other manuals for Dynon Avionics SkyView

Related product manuals