EasyManua.ls Logo

Hitachi CBXSS - Procedure When Moving the Storage System

Hitachi CBXSS
292 pages
Print Icon
To Next Page IconTo Next Page
To Next Page IconTo Next Page
To Previous Page IconTo Previous Page
To Previous Page IconTo Previous Page
Loading...
General maintenance and best practices 16–5
Hitachi Unified Storage Hardware Service Guide
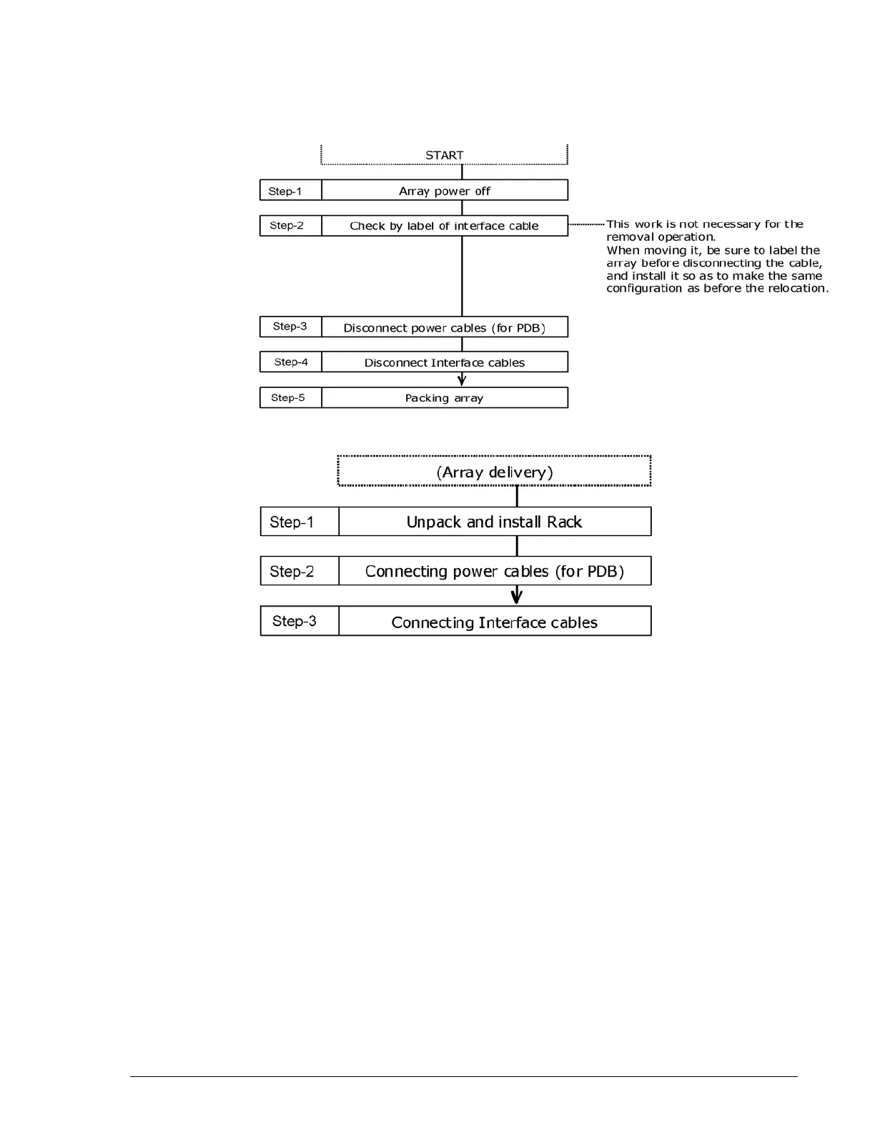
Procedure when moving the storage system
If you need to move the Hitachi Unified Storage system, review the figures
in this chapter before moving the hardware.
Figure 16-2: Moving the Storage System and Rack Together
Figure 16-3: Tasks to perform at new location
before moving the storage system

Table of Contents

Related product manuals