EasyManua.ls Logo

Hitachi IJ UX - Page 193

Hitachi IJ UX
308 pages
To Next Page IconTo Next Page
To Next Page IconTo Next Page
To Previous Page IconTo Previous Page
To Previous Page IconTo Previous Page
Loading...
4-60
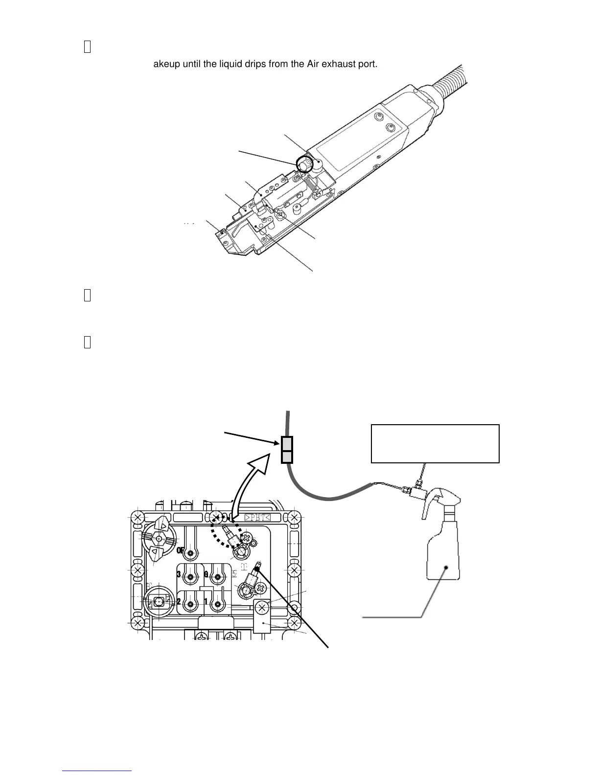
3 Inject makeup into the Exhaust tube (Piping [5]) using Hand pump and clean the path.
Inject the makeup until the liquid drips from the Air exhaust port.
4 Disconnect the Exhaust tube (Piping [5]) which is connected to the Hand pump, and reconnect the
tube to the Main ink tank.
5 Clean MV11 and the Exhaust path.
Remove the Tube lock of the Exhaust tube (Piping [1] ) which is connected to the Main ink tank, and
connect the Piping [1] to Hand pump.
• Press “Openfor MV11 on Solenoid valve/ pump test screen.
Air exhaust port
Negative deflection electrode
Positive deflection electrode
Nozzle orifice
Gutter
Printhead cover locking thumbscrew
Charge electrode
Exhaust tube (Piping [1])
Exhaust tube (Piping [5])
Hand pump specifications
Part name: Nozzle cleaner
Part No: 451000
Hand pump

Table of Contents

Other manuals for Hitachi IJ UX

Related product manuals