EasyManua.ls Logo

Hitachi IJ UX - Pump Parts Replacement

Hitachi IJ UX
308 pages
To Next Page IconTo Next Page
To Next Page IconTo Next Page
To Previous Page IconTo Previous Page
To Previous Page IconTo Previous Page
Loading...
4-18
4.8 Pump part replacement
4.8.1 Pump Unit Replacement Procedure
1 Perform “Ink drainage” to “Pressure relief”.
2 Turn off the power supply.
3 Perform 4.1.3 Access to the parts on the rear side of the equipment, (1) Access
method from the frontand open the unit door.
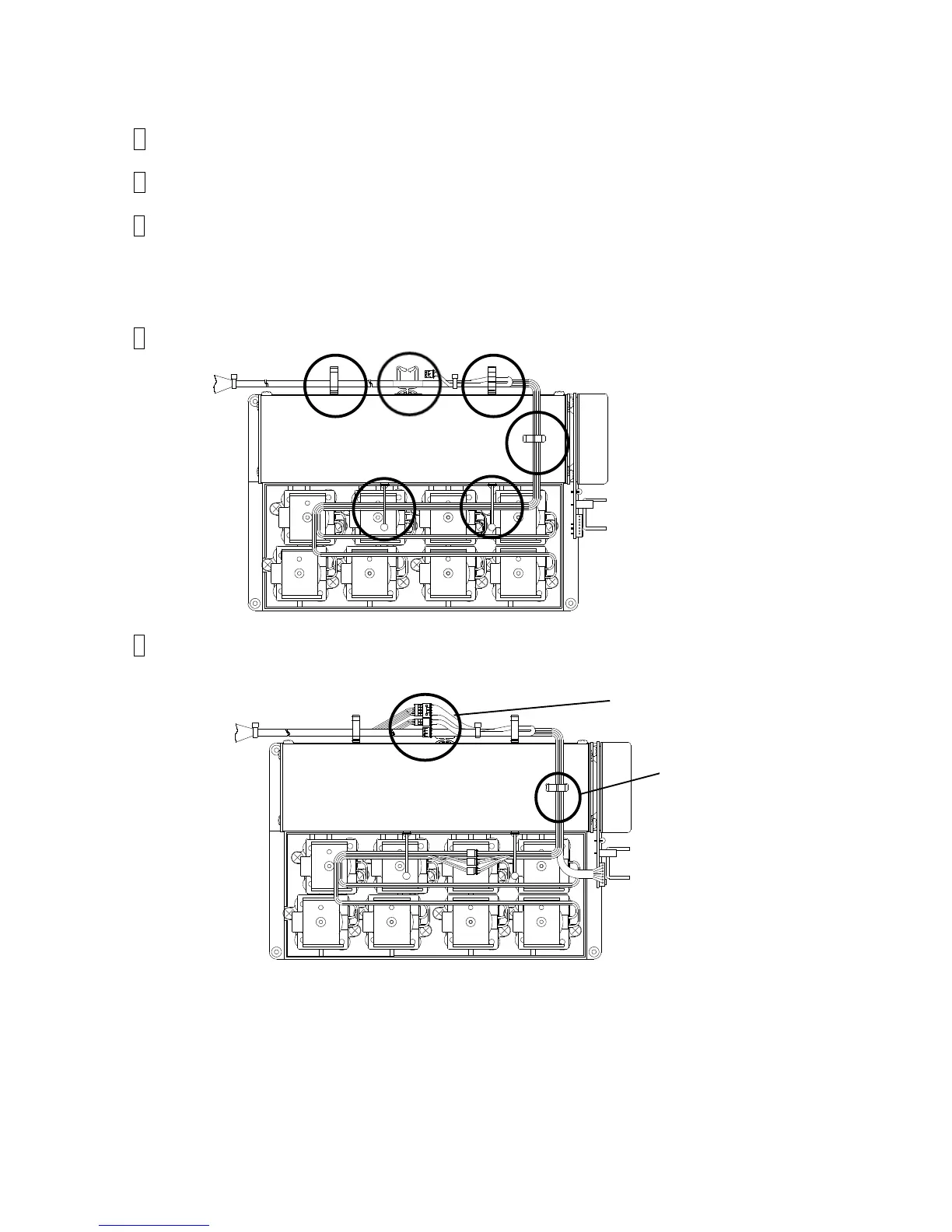
[Caution] Be careful not to catch the tubes.
4 Remove the wire harness from the clamps (5 positions).
5 Disengage the connectors of the electrical parts (6 positions) (pressure sensor,
viscometer (3 positions), level sensor and float sensor).
5 positions
1 position

Table of Contents

Other manuals for Hitachi IJ UX

Related product manuals