EasyManua.ls Logo

Piper Dakota - Cowling Installation; Maintenance of Cowling; Removal of Cowling

Piper Dakota
616 pages
Print Icon
To Next Page IconTo Next Page
To Next Page IconTo Next Page
To Previous Page IconTo Previous Page
To Previous Page IconTo Previous Page
Loading...
l6. Connect primer line at tee connection.
17. Connect cabin heat line tube at heat muff.
18. Be certain that magneto switches are OFF and install propeller. (Refer to chapter 61.)
19. Install proper grade and amount of engine oil. (Refer to Lubrication Chart, chapter 12.)
20. Connect battery ground wire to battery.
21. Open throttle and fuel valve completely; turn on electric fuel pump and check fuel lines for leaks.
22. Install engine cowlings and remove tail stand. (Refer to Installation of Cowling.)
23. Perform an engine operational check. Refer to engine manufacturer’s appropriate operator’s manual.
COWLING
MAINTENANCE OF COWLING
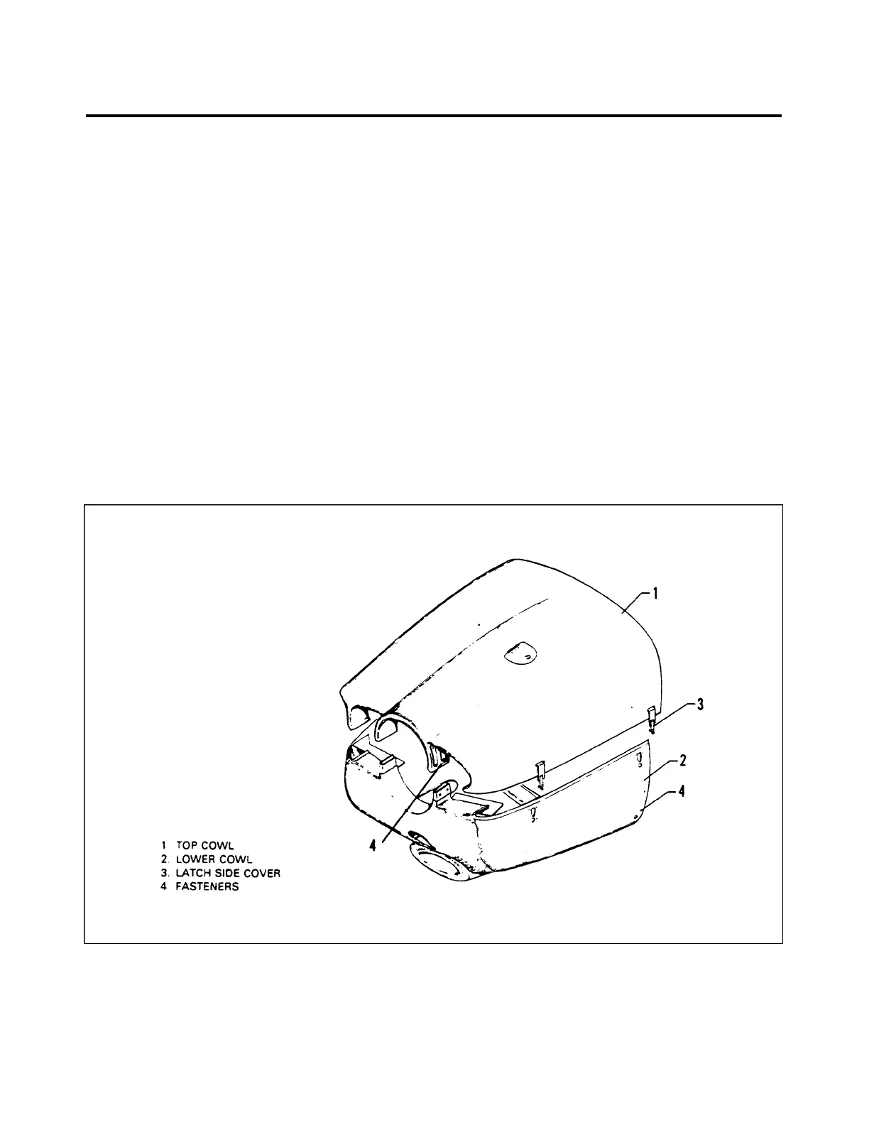
REMOVAL OF COWLING (figure 71-3)
1. Release fasteners, two on each side and two at front of nose area.
2. Lift front end of top cowl and then slide it up. Remove top cowl.
3. Disconnect electrical lead to landing light at quick disconnect at center inside of bottom cowl.
4. Disconnect induction air hose at filter housing from bottom of cowl and strut fairing.
5. Remove bottom cowl attaching screws from around its aft end and remove cowl.
6. Remove aft portion of strut fairing.
Figure 71-3. Cowling Installation (PA-28-236)
71 - 11 - 00
Page - 71-12
Reissued: August 1, 1986
2I3
PIPER AIRCRAFT
PA-28-236
MAINTENANCE MANUAL

Table of Contents

Related product manuals