EasyManua.ls Logo

RFL IMUX 2000 - Page 235

RFL IMUX 2000
1105 pages
Print Icon
To Next Page IconTo Next Page
To Next Page IconTo Next Page
To Previous Page IconTo Previous Page
To Previous Page IconTo Previous Page
Loading...
Because RFL and Hubbell® have a policy of continuous product improvement, we reserve the right to change designs and specications without notice.
IMUX 2000E1 RFL Electronics Inc.
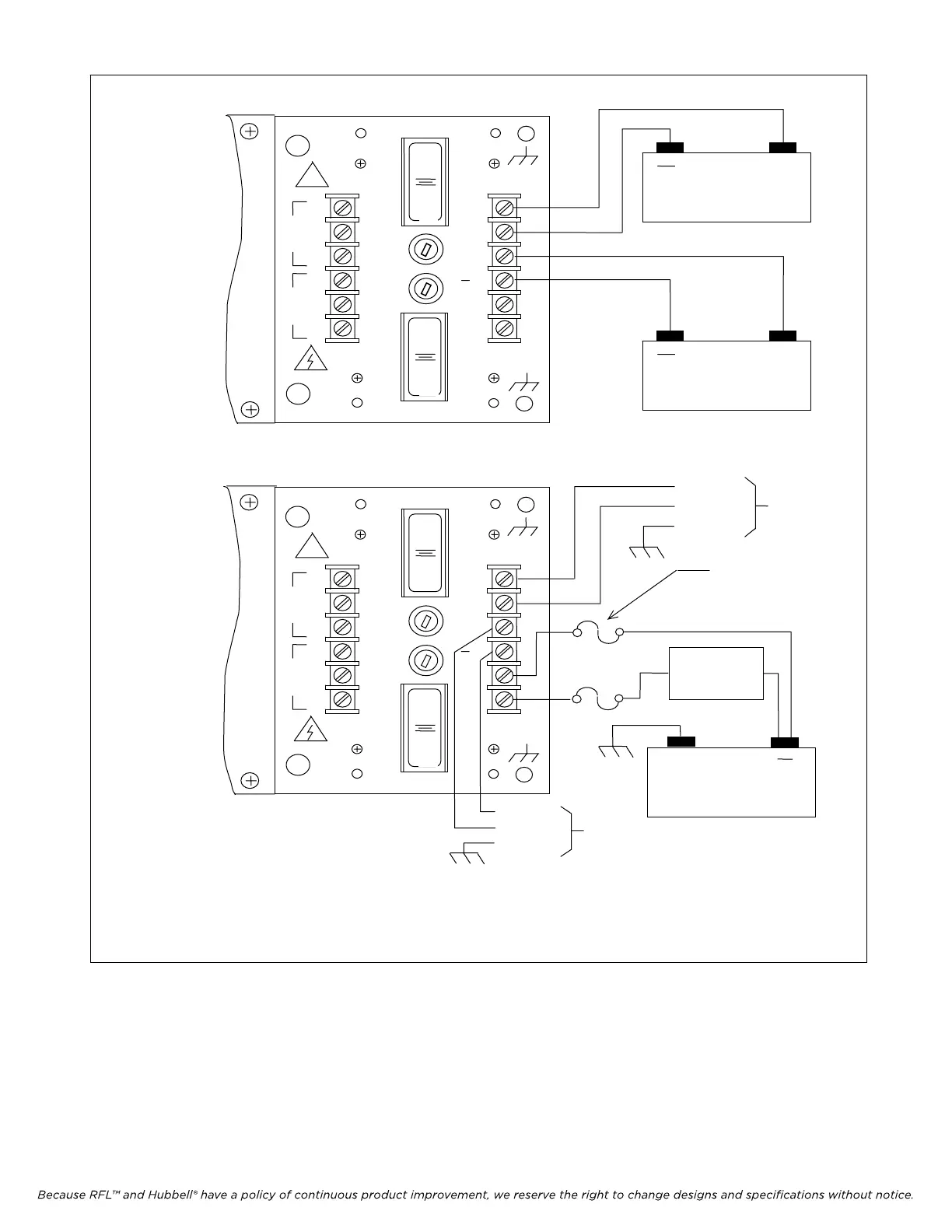
NOTE: This configuration can only be used when the internal –48Vdc source is disabled. Consult RFL technical support
personnel for more information
a. Connections for 48-Vdc,125-Vdc or 250-Vdc
1
0
1
0
!
P.S. MAIN
ON
OFF
ON
OFF
P.S. REDUNDANT
COM
NC
NO
COM
NO
NC
+
_
R
R
+
SB
R
G
MAIN
STATION
BATTERY
+
REDUNDANT
STATION
BATTERY
+
F1
4A
F2
4A
1
0
1
0
!
P.S. MAIN
ON
OFF
ON
OFF
P.S. REDUNDA
Figure 8-3. Teminal strip power connections for IMUX 2000 multiplexers with redundant power supply modules
NT
COM
NC
NO
COM
NO
NC
+
_
R
R
+
SB
R
G
TO MAIN AC
POWER
SOURCE
48 VOLT TALK
CURRENT SOURCE
RING
GENERATOR
SLOW-BLOW FUSE
(0.12A x number of voice circuits)
+
HOT
NEUTRAL
GROUND
0.5A SLOW-
BLOW
FUSE
HOT
NEUTRAL
GROUND
TO REDUNDANT AC
POWER SOURCE
b. Connections for ac operation, and 48-Vdc talk current source for external ring generator, and for voice circuits.
F1
4A
F2
4A
January 23, 2004 8-7 (973) 334-3100

Table of Contents

Other manuals for RFL IMUX 2000

Related product manuals