EasyManua.ls Logo

WEG CFW-09 - Page 348

WEG CFW-09
362 pages
Print Icon
To Next Page IconTo Next Page
To Next Page IconTo Next Page
To Previous Page IconTo Previous Page
To Previous Page IconTo Previous Page
Loading...
349
CHAPTER9 -
TECHNICAL
SPECIFICA
TIONS
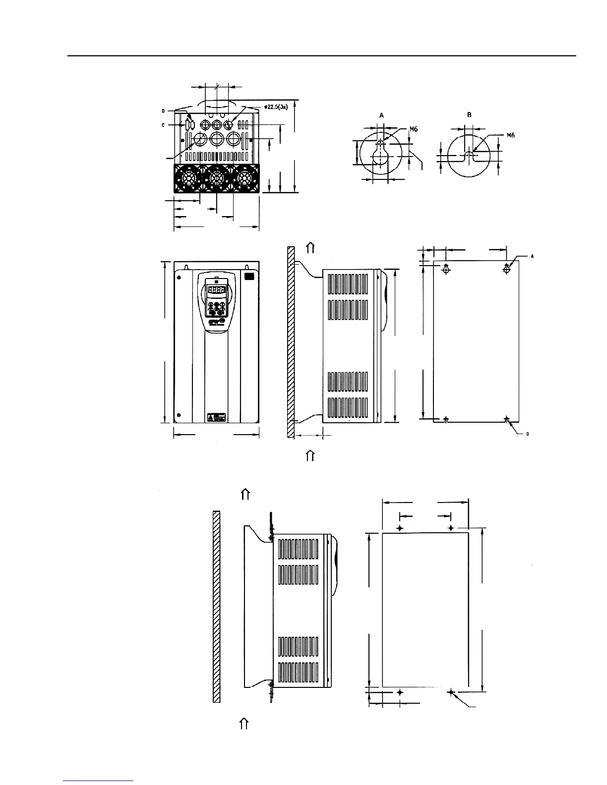
SIZE 4
Air Flow
outlet
Air Flow
inlet
Air Flow
outlet
Air Flow inlet
34
(1.34)
34
(1.34)
76(2.99)
125(4.92)
174(6.85)
250(9.84)
150(5.91)
475(18.70)
450(17.72)
450(17.72)
50(1.97)
15 (0.59)
84.5(3.33)
250(9.84)
150(5.91)
252(9.92)
51(2.01)
480(18.90)
452(17.80)
14 (0.55)
158(6.22)
200(7.87)
274(10.79)
7.2(0.28)
7.2(0.28)
24.6(0.97)
13 (0.51)
10 (0.39)
13.6(0.54)
16(0.63)
Conduit for
power
cable
(3x) 35
Figure 9.5
- Size 4 - dimensions in mm (inch)

Table of Contents