EasyManua.ls Logo

wsm B2420 - 1. HYDRAULIC CIRCUIT

wsm B2420
333 pages
Print Icon
To Next Page IconTo Next Page
To Next Page IconTo Next Page
To Previous Page IconTo Previous Page
To Previous Page IconTo Previous Page
Loading...
HYDRAULIC SYSTEM
B2420, WSM
8-M1
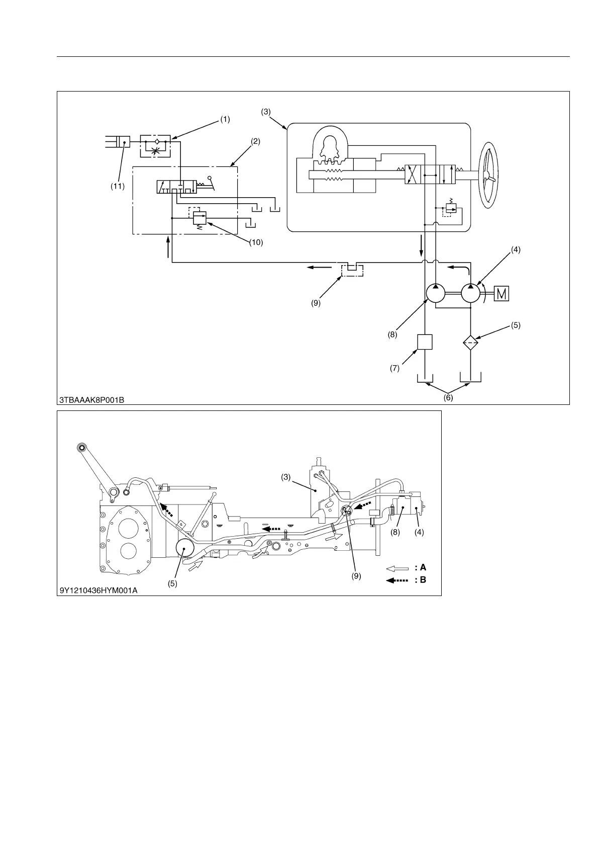
1. HYDRAULIC CIRCUIT
This hydraulic circuit of B2420 consists 11 parts.
The above figure is hydraulic circuit.
The below figure is the right viewing of hydraulic flow structure.
9Y1210436HYM0001US0
(1) Lowering Speed Adjusting
Valve
(2) Position Control Valve
(3) Power Steering
(4) Hydraulic Pump
(for 3-point Hitch)
(5) Oil Filter
(6) Transmission Case
(7) Front Transmission Case
(8) Hydraulic Pump
(for Power Steering)
(9) Hydraulic Block Type Outlet
(10) Relief Valve
(11) Hydraulic Cylinder
A: Suction Oil
B: Low Pressure Oil
KiSC issued 06, 2012 A

Table of Contents

Related product manuals