EasyManua.ls Logo

wsm B2420 - 4. LIGHTING SYSTEM

wsm B2420
333 pages
Print Icon
To Next Page IconTo Next Page
To Next Page IconTo Next Page
To Previous Page IconTo Previous Page
To Previous Page IconTo Previous Page
Loading...
ELECTRICAL SYSTEM
B2420, WSM
9-M15
4. LIGHTING SYSTEM
The lighting system consists of combination switch (lamp switch and hazard switch), head lamp, tail lamp, hazard
lamp, etc..
9Y1210436ELM0009US0
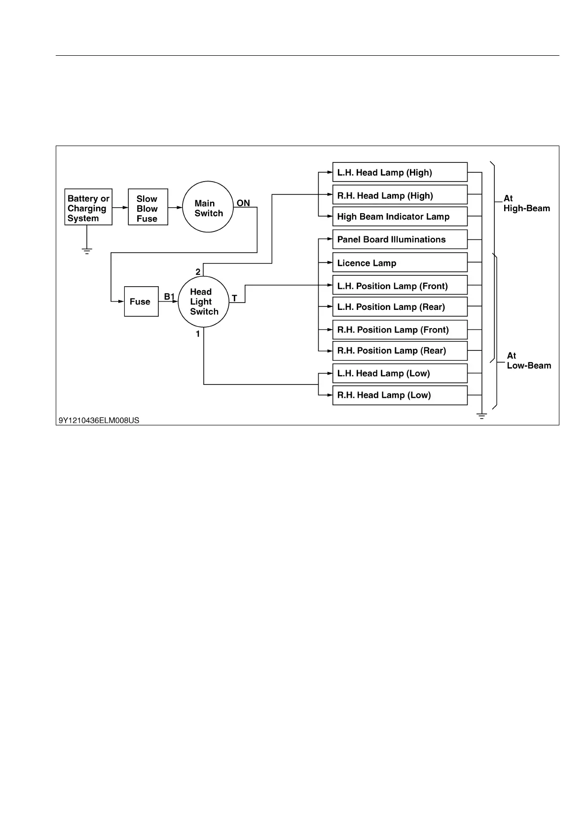
[1] HEAD LAMP
The head light switch, which forms a combination switch with the turn signal lamp switch and horn switch, has
three positions; OFF, LOW-BEAM and HIGH-BEAM.
Current passes through the light circuit as shown in the figure above.
9Y1210436ELM0010US0
KiSC issued 06, 2012 A

Table of Contents

Related product manuals