EasyManua.ls Logo

AOR AR5001D - 10 OPTION MENU; 10-1 LSQL HYS (LEVEL SQUELCH HYSTERISIS)

AOR AR5001D
95 pages
Print Icon
To Next Page IconTo Next Page
To Next Page IconTo Next Page
To Previous Page IconTo Previous Page
To Previous Page IconTo Previous Page
Loading...
35
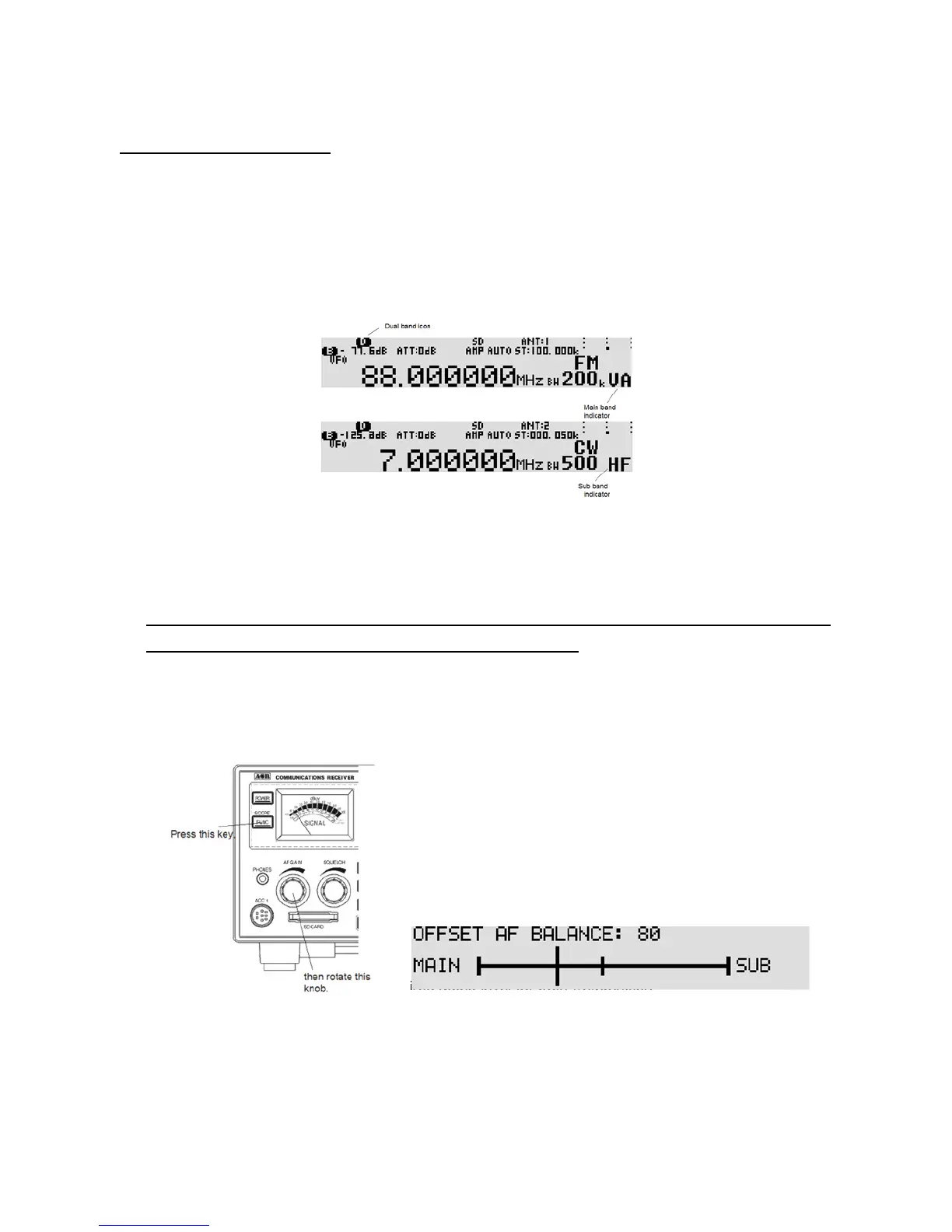
5-2-2 DUAL BAND RECEIVE
In VFO mode, one frequency below 25 MHz (defined as Sub frequency) and another frequency above 25
MHz (defined as Main frequency) can be received simultaneously.
5-2-2-1 ACTIVAT ING DUAL BAND RECEIVE
In VFO mode, press the [FUNC] key, and then press and hold the [VFO] key for two seconds. The dual
band screen appears on the LCD.
5-2-2-2 SETTING THE FREQUENCIES
To set the main frequency, press the [UP] key and enter the frequency using the numeric keypad.
To set the sub frequency, press the [DOWN] key and enter the frequency using the numeric keypad.
Note: The main frequency must be above 25 MHz, and the sub frequency must be below 25 MHz.
However, separate modes can b e selected for both frequencies.
5-2-2-3 CHANGING THE AUDIO BAL ANCE
Press the [FUNC] key, and then rotate the AF GAIN (Volume). Bala nce adjustment screen shown
below appears.
Rotate the AF gain (volume) to the desired audio level for both frequencies.
Press the [FUNC] key to accept setting.
5-2-2-4 DEACTIVATING DUAL BAND RECEIVE
Press the [FUNC] key, then press and hold the [VFO] key for two seconds.

Table of Contents

Other manuals for AOR AR5001D

Related product manuals