EasyManua.ls Logo

Denso RC7M - Page 122

Denso RC7M
174 pages
Print Icon
To Next Page IconTo Next Page
To Next Page IconTo Next Page
To Previous Page IconTo Previous Page
To Previous Page IconTo Previous Page
Loading...
102
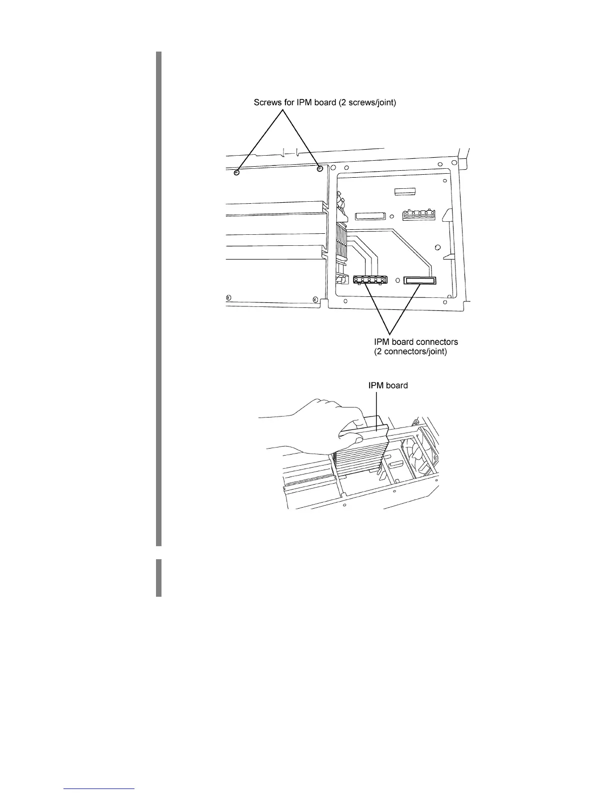
Step 3
Remove the two screws from the IPM board to be replaced. Disconnect the board
from its two connectors and connect a new one.
Step 4
Secure the top cover of the controller with eight screws.
Tightening torque: 1.35 to 1.45 Nm

Table of Contents

Related product manuals