EasyManua.ls Logo

Denso RC7M - Typical Robot System Configuration

Denso RC7M
174 pages
Print Icon
To Next Page IconTo Next Page
To Next Page IconTo Next Page
To Previous Page IconTo Previous Page
To Previous Page IconTo Previous Page
Loading...
11
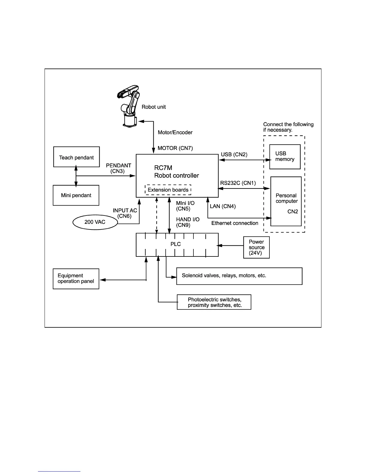
1.4.2 Typical Robot System Configuration
The block diagram below shows a typical robot system configuration.
Robot System Configuration

Table of Contents

Related product manuals