EasyManua.ls Logo

EST EST3X - Page 93

EST EST3X
298 pages
Print Icon
To Next Page IconTo Next Page
To Next Page IconTo Next Page
To Previous Page IconTo Previous Page
To Previous Page IconTo Previous Page
Loading...
Chapter 4: Supplementary applications
EST3X Technical Reference Manual 83
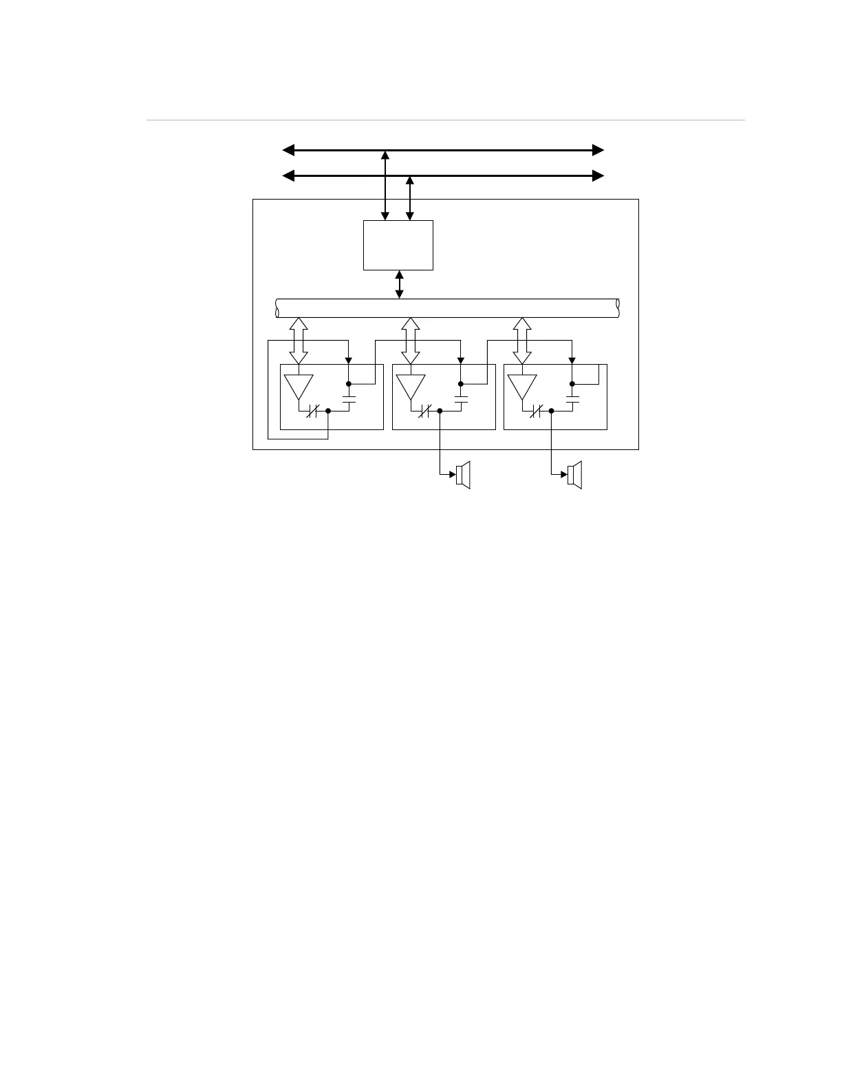
Figure 14: Normal amplifier operation
SFS1-CPU
(2)
(3)
(1)
(4)
(6) (5)(5)
(7)
(8)
(1) Network data riser
(
2) Network audio riser
(3) Equipment enclosure
(4) Local rail bus
(5) Zoned amplifier
(6) Backup amplifier
(7) Alert
(8) EVAC
Backup amplifiers
In the event of an amplifier failure (not a field wiring problem), the backup
amplifier automatically replaces the failed amplifier.
In Figure 15, on page 84 the failure of amplifier three caused the backup
amplifier to automatically connect to the same audio source as the failed
amplifier. The output of the backup amplifier replaced the output of the failed
amplifier.
Notes
A backup amplifier will not replace an amplifier that has detected a field wiring
problem.
The backup amplifier will back up a failed amplifier if it was being used for
Page, EVAC, or Alert. It will not back up an amplifier being used on an
Auxiliary or General channel.

Table of Contents

Other manuals for EST EST3X

Related product manuals